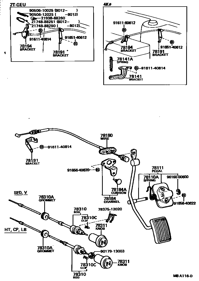
ACCELERATOR LINK

78110ASPRING (FOR ACCELERATOR PEDAL ROD)
78111PEDAL, ACCELERATOR
78141BRACKET, ACCELERATOR WIRE RETURN SPRING
78141ASPRING, TENSION(FOR ACCELERATOR WIRE RETURN SPRING)
78180WIRE ASSY, ACCELERATOR
78184CHANNEL, ACCELERATOR IDLE ADJUSTING STOPPER
78184ACUSHION (FOR ACCELERATOR ADJUST STOPPER CHANNEL)
78191BRACKET, ACCELERATOR WIRE SUPPORT
78310CABLE ASSY, CHOKE
78310AGROMMET, CHOKE CABLE
78310CCLIP (FOR CHOKE CABLE)
2174888250DAMPER, THROTTLE RETURN SPRING
main21748-88250
2174888251DAMPER, THROTTLE RETURN SPRING
main21748-88251
2193888260DAMPER, RETURN SPRING
main21938-88260
7837512020CLAMP, CHOKE ROD FLEXIBLE TUBE
main78375-12020
9017913003
main90179-13003
9050610025
main90506-10025
9050612025
main90506-12025
9161140814
main91611-40814
9161160612
main91611-60612
9165140612
main91651-40612
9165640620
main91656-40620
9165640622
main91656-40622
9616000600
main96160-00600
26 parts on this diagram · 2 diagrams in section