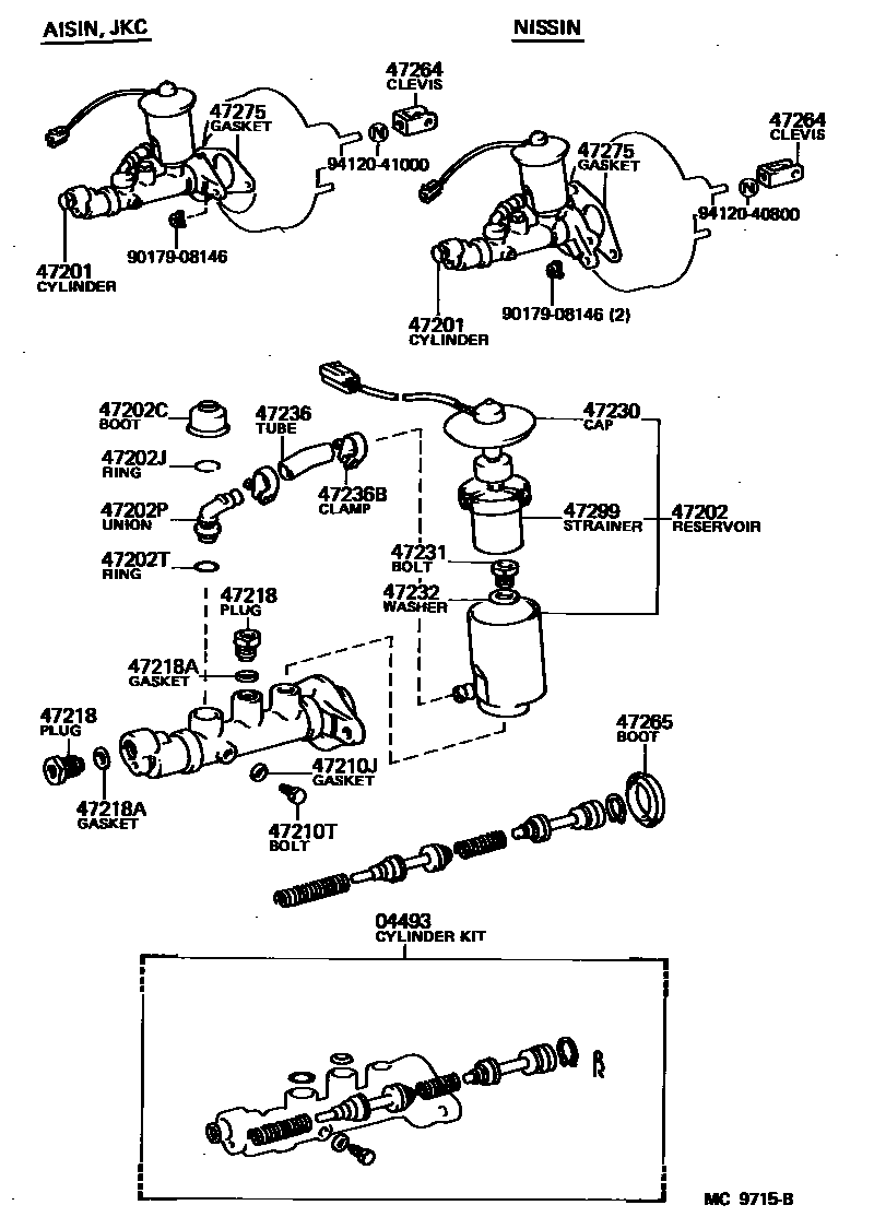
BRAKE MASTER CYLINDER

04493CYLINDER KIT, BRAKE MASTER
47201CYLINDER SUB-ASSY, BRAKE MASTER
BOOSTER=AISIN
BOOSTER=AISIN OR JKC
BOOSTER=NISSIN
47202RESERVOIR SUB-ASSY, BRAKE MASTER CYLINDER
47202CBOOT, RESERVOIR, NO.1(FOR BRAKE MASTER CYLINDER SIDE)
47202JRING, SNAP(FOR BRAKE MASTER CYLINDER SIDE)
47202PUNION, RESERVOIR(FOR BRAKE MASTER CYLINDER SIDE)
sub90407-10004
47202TRING(FOR BRAKE MASTER CYLINDER RESERVOIR, NO.1)
47210JGASKET(FOR MASTER CYLINDER)
47210TBOLT(FOR BRAKE MASTER CYLINDER)
47218PLUG, MASTER CYLINDER FLUID OUTLET
47218AGASKET(FOR FLUID OUTLET PLUG)
47230CAP ASSY, BRAKE MASTER CYLINDER RESERVOIR FILLER
sub84460-12011
47231BOLT, BRAKE MASTER CYLINDER RESERVOIR SET
47232WASHER, BRAKE RESERVOIR SET BOLT
47236TUBE, RESERVOIR BRAKE
47236BCLAMP(FOR RESERVOIR TUBE)
47264CLEVIS, MASTER CYLINDER PUSH ROD
BOOSTER=NISSIN
BOOSTER=AISIN OR JKC
47265BOOT, MASTER CYLINDER
47275GASKET, BRAKE MASTER CYLINDER
BOOSTER=NISSIN
47299STRAINER, BRAKE MASTER CYLINDER RESERVOIR
9017908146
main90179-08146
9412040800
main94120-40800
9412041000
main94120-41000
23 parts on this diagram · 1 diagram in section