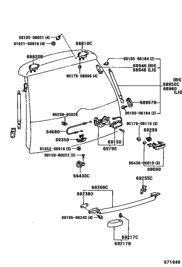
BACK DOOR LOCK & HANDLE

68810CHINGE ASSY, BACK DOOR, RH
68820BHINGE ASSY, BACK DOOR, LH
68945BRACKET, BACK DOOR DAMPER STAY, UPPER RH
68946BRACKET, BACK DOOR DAMPER STAY, UPPER LH
68950CSTAY ASSY, BACK DOOR, RH
68957BBRACKET, BACK DOOR STAY, LOWER
68960STAY ASSY, BACK DOOR, LH
69090HANDLE ASSY, BACK DOOR, OUTSIDE
SUPER WHITE 2,040
LT.GRAY PEARL ME.,1A7
SILVER METALLIC,199
GRAY ME.,2DH
BLACK ME,2AN ,205
BLACK ME,2AN
BLACK ME,205
RED MM,3K4
RED MM,2AF
RED,3M7
SUPER RED II,3E5
BLUISH GREEN M.,2AM
DARK GREEN MICA,6M1
DK.GREEN M.M.,2DE
LT.GREEN ME.OP.,6P7
DK.BLUE MC.,2AL
DK.BLUE MC.,2DF
BLUE M.M,8L5
69150ACTUATOR ASSY, BACK DOOR LOCK
69209CHANDLE SUB-ASSY, BACK DOOR, OUTSIDE
69217BCOVER, BACK DOOR OUTSIDE HANDLE
69217CRETAINER, BACK DOOR OUTSIDE HANDLE COVER
69238DCUSHION, BACK DOOR OUTSIDE HANDLE
69255CPROTECTOR, DOOR OUTSIDE HANDLE
69299GROMMET, BACK DOOR HANDLE
69350LOCK ASSY, BACK DOOR
69430CSTRIKER ASSY, BACK DOOR LOCK
69790CONTROL ASSY, BACK DOOR LOCK
8629960020PAD, SPEAKER
main86299-60020
9010506184
main90105-06184
9010506240
main90105-06240
9010508051
main90105-08051
9015980022
main90159-80022
9017906115
main90179-06115
9017908096
main90179-08096
9043005010
main90430-05010
9162160816
main91621-60816
9165260616
main91652-60616
29 parts on this diagram · 1 diagram in section