E
EPC Data
Pricing
API Docs
Sign In
Home
›
JP
›
154140
›
CENTER STOP LAMP
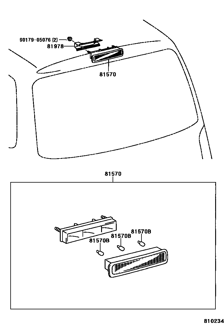
CENTER STOP LAMP
81570
LAMP ASSY, CENTER STOP
main
81570-13130
i
AE11#
199701
81570B
BULB (FOR CENTER STOP LAMP)
main
99132-12050
i
AE11#
199701
81978
BRACKET, STOP CENTER
main
81978-13010
i
AE11#
199701-199709
sub
81978-13011
main
81978-13011
i
AE11#
199709
9017905076
main
90179-05076
4 parts on this diagram · 1 diagram in section
CENTER STOP LAMP — Toyota Parts Diagram with OEM Numbers & Prices | EPC Data