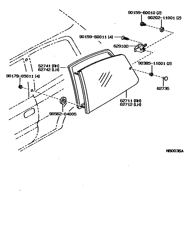
QUARTER WINDOW

62735RETAINER, QUARTER WINDOW HINGE
62741WEATHERSTRIP, QUARTER WINDOW, RH
62742WEATHERSTRIP, QUARTER WINDOW, LH
62910DLOCK ASSY, QUARTER WINDOW
9015960010
main90159-60010
9015960011
main90159-60011
9017905011
main90179-05011
9020211001
main90202-11001
9038511001
main90385-11001
9056204005
main90562-04005
12 parts on this diagram · 3 diagrams in section