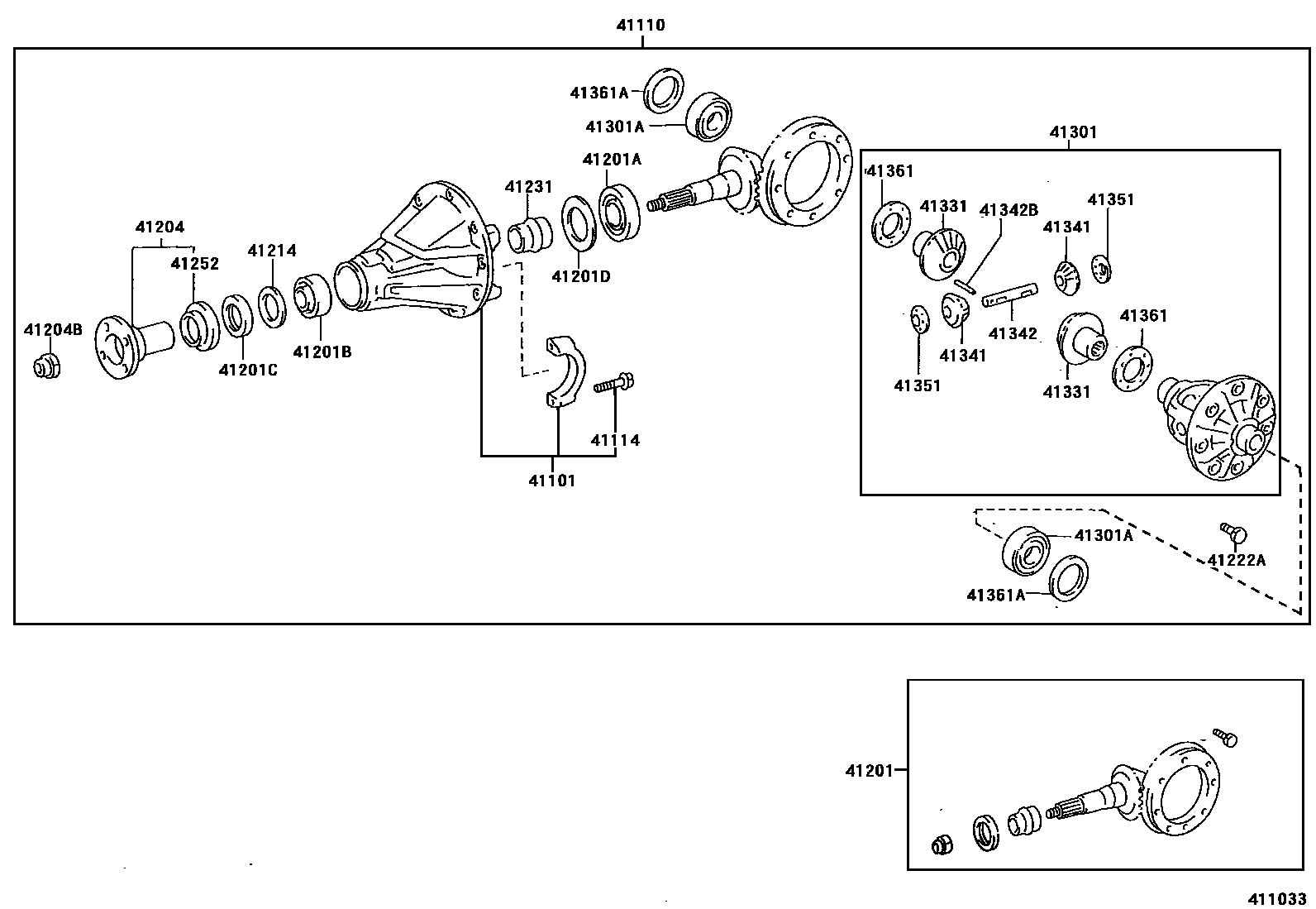
REAR AXLE HOUSING & DIFFERENTIAL

41101CARRIER SUB-ASSY, DIFFERENTIAL, REAR
41110CARRIER ASSY, DIFFERENTIAL, REAR
41114BOLT, REAR DIFFERENTIAL BEARING CAP
41201FINAL GEAR KIT, DIFFERENTIAL, REAR
41201ABEARING (FOR REAR DRIVE PINION REAR)
41201BBEARING (FOR REAR DRIVE PINION FRONT)
41201CSEAL, OIL (FOR REAR DIFFERENTIAL CARRIER)
41201DWASHER, PLATE (FOR REAR DIFFERENTIAL DRIVE PINION)
41204FLANGE SUB-ASSY, REAR DRIVE PINION COMPANION, REAR
41204BNUT (FOR REAR DRIVE PINION)
41214SLINGER, REAR DIFFERENTIAL DRIVE PINION OIL
41222ABOLT (FOR REAR DIFFERENTIAL RING GEAR SET)
41231SPACER, REAR DIFFERENTIAL DRIVE PINION BEARING
41252DEFLECTOR, DUST (FOR REAR DIFFERENTIAL)
41301CASE SUB-ASSY, REAR DIFFERENTIAL
41301ABEARING(FOR REAR DIFFERENTIAL CASE)
41331GEAR, REAR DIFFERENTIAL SIDE
41341PINION, REAR DIFFERENTIAL
41342SHAFT, REAR DIFFERENTIAL PINION
41342BPIN, STRAIGHT (FOR REAR DIFFERENTIAL PINION SHAFT)
41351WASHER, REAR DIFFERENTIAL PINION THRUST
41361WASHER, REAR DIFFERENTIAL SIDE GEAR THRUST, NO.1
41361ASHIM(FOR REAR DIFFERENTIAL SIDE GEAR THRUST)
23 parts on this diagram · 2 diagrams in section