E
EPC Data
Pricing
API Docs
Sign In
Home
›
JP
›
144120
›
VENTILATION HOSE
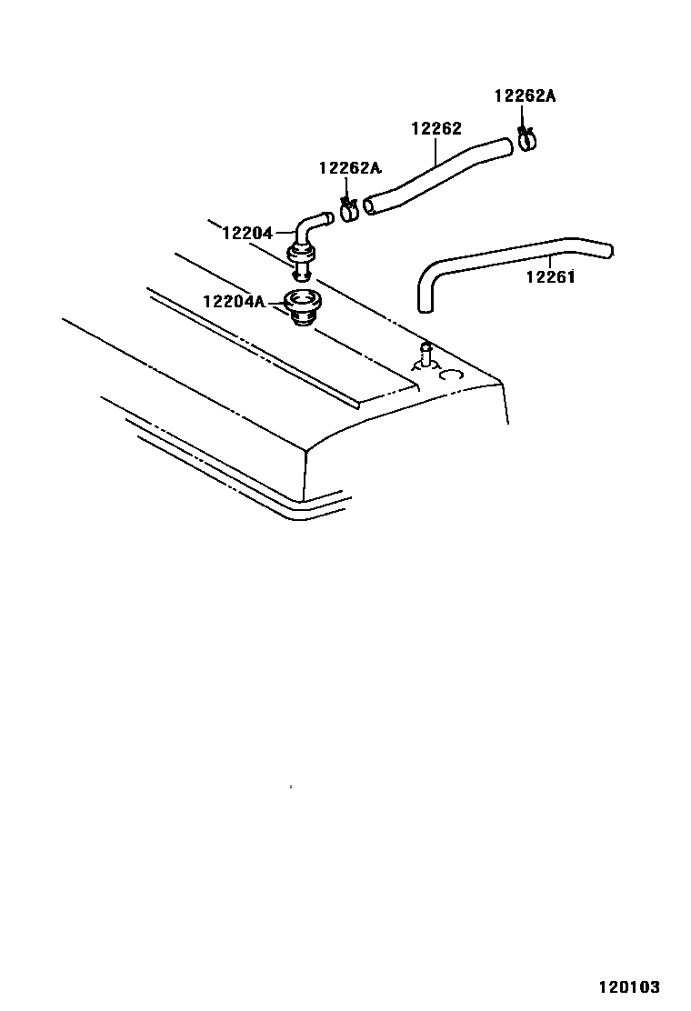
VENTILATION HOSE
12204
VALVE SUB-ASSY, VENTILATION
main
12204-10040
i
4EFE..EL52
199508
main
12204-11040
i
5EFHE..EL54
199508
12204A
GROMMET(FOR VENTILATION SYSTEM)
main
90480-18006
i
4EFE,5EFHE..EL5#
199508
12261
HOSE, VENTILATION
main
12261-11180
i
4EFE,5EFHE..EL5#
199508
12262
HOSE, VENTILATION, NO.2
main
12262-11050
i
4EFE,5EFHE..EL5#
199508
12262A
CLIP(FOR VENTILATION HOSE NO.2)
main
90467-14001
i
4EFE,5EFHE..EL5#
199508
5 parts on this diagram · 1 diagram in section
VENTILATION HOSE — Toyota Parts Diagram with OEM Numbers & Prices | EPC Data