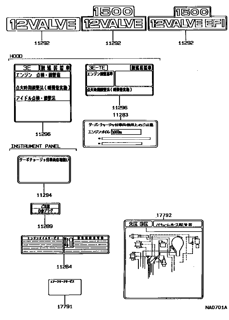
CAUTION PLATE & NAME PLATE (ENGINE)

11283PLATE, TURBOCHARGER CAUTION
11284PLATE, ENGINE BOLT INFORMATION
11289PLATE, SPARK PLUG CAUTION
11292PLATE, ENGINE NAME, NO.2
11294PLATE, ENGINE CAUTION, NO.2
11296PLATE, TIMING BELT CAUTION
17791LABEL, MAINTENANCE INFORMATION
17792PLATE, ENGINE VACUUM HOSE INFORMATION
8 parts on this diagram · 1 diagram in section