E
EPC Data
Pricing
Sign In
Home
›
JP
›
143130
›
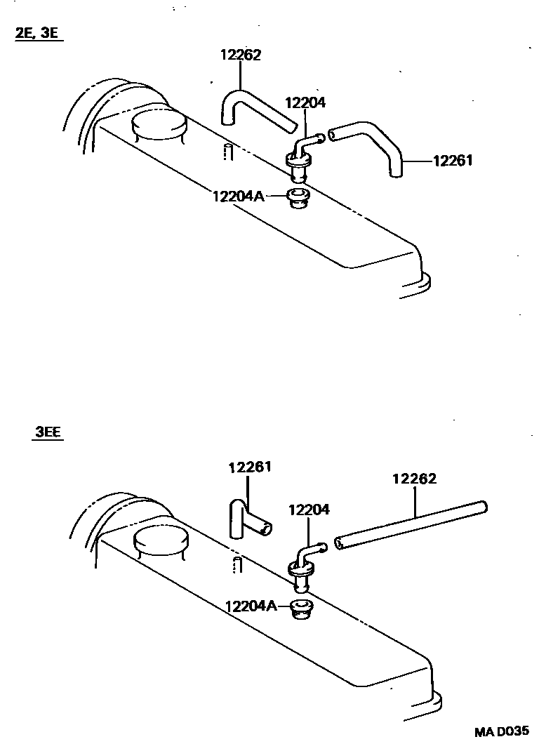
VENTILATION HOSE
VENTILATION HOSE
0001 1
0002 1
0003 1
0004 1
12204
VALVE SUB-ASSY, VENTILATION
main
12204-10020
i
3E,3EE..EL31
198805-199009
sub
12204-10030
main
12204-10040
i
2E..EL30
198805-199009
12204A
GROMMET(FOR VENTILATION SYSTEM)
main
90480-18001
i
2E,3E,3EE..EL3#
198805-198806
main
90480-18006
i
2E,3E,3EE..EL3#
198806-199009
12261
HOSE, VENTILATION
main
12261-11020
i
2E..EL30
198912-199009
main
12261-11040
i
3ETE..EL31
198805-199009
main
12261-11050
i
2E,3E..EL3#
198805-198912
main
12261-11080
i
3EE..EL31
198805-199009
main
12261-55010
i
1NT..NL30
198805-199009
12262
HOSE, VENTILATION, NO.2
main
12262-10020
i
2E,3E..EL3#
198805-199009
main
12262-11010
i
3EE..EL31;3ETE..EL31..5F
198805-198908
main
12262-11020
i
3ETE..EL31..4FC
198805-199009
main
12262-11040
i
3EE..EL31;3ETE..EL31..5F
198909-199009
4 parts on this diagram · 4 diagrams in section
VENTILATION HOSE — Toyota Parts Diagram with OEM Numbers & Prices | EPC Data