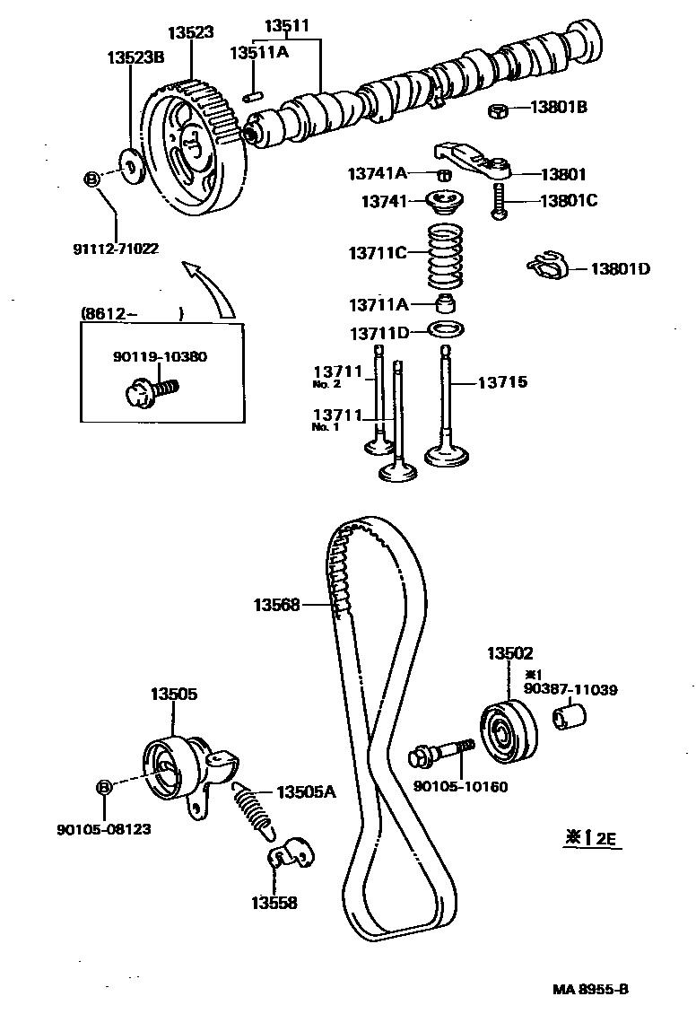
CAMSHAFT & VALVE

13502IDLER SUB-ASSY, TIMING BELT, NO.2
13511APIN, STRAIGHT(FOR CAMSHAFT KNOCK)
13523GEAR OR SPROCKET, CAMSHAFT TIMING
13523BWASHER, PLATE(FOR TIMING GEAR)
13558BRACKET, SPRING(FOR IDLER)
13711VALVE, INTAKE
NO.1
NO.2
NO.2
13711ASEAL OR RING, O(FOR VALVE STEM OIL)
13711CSPRING, COMPRESSION(FOR OUTER)
13711DWASHER, PLATE(FOR VALVE SPRING SEAT)
13715VALVE, EXHAUST
13741RETAINER, VALVE SPRING
13741ALOCK, VALVE SPRING RETAINER
13801ARM SUB-ASSY, VALVE ROCKER, NO.1
13801BNUT, HEXAGON(FOR VALVE ADJUSTING)
13801DSPRING, COMPRESSION(FOR ROCKER ARM)
9010508123
main90105-08123
9010510160
main90105-10160
9011910380
main90119-10380
9038711039
main90387-11039
9111271022
main91112-71022
25 parts on this diagram · 2 diagrams in section