E
EPC Data

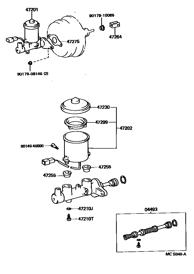
BRAKE MASTER CYLINDER

Parts diagram
04493CYLINDER KIT, BRAKE MASTER
main04493-10160i199409-199512
main04493-10190i199608
main04493-10190i199512-199608
main04493-16080i199409-199608
main04493-16090i199409
47201CYLINDER SUB-ASSY, BRAKE MASTER
main47201-10240i199512-199712
main47201-16180i199409-199512
main47201-16230i199409-199608
main47201-16250i199409-199712
main47201-16400i199712
main47201-16470i199712
47202RESERVOIR SUB-ASSY, BRAKE MASTER CYLINDER
main47220-10010i199409-199712
main47220-16110i199712
main47220-16130i199712
47210JGASKET(FOR MASTER CYLINDER)
main90430-06104i199409
47210TBOLT(FOR BRAKE MASTER CYLINDER)
main90109-06077i199409
47230CAP ASSY, BRAKE MASTER CYLINDER RESERVOIR FILLER
main47230-16010i199409
47255GROMMET, MASTER CYLINDER RESERVOIR
main47255-16010i199409
47264CLEVIS, MASTER CYLINDER PUSH ROD
main47264-20060i199409
47275GASKET, BRAKE MASTER CYLINDER
main47275-12020i199409
47299STRAINER, BRAKE MASTER CYLINDER RESERVOIR
main47299-16010i199409
9014940006
9017908146
9017910065

13 parts on this diagram · 1 diagram in section

BRAKE MASTER CYLINDER — Toyota Parts Diagram with OEM Numbers & Prices | EPC Data