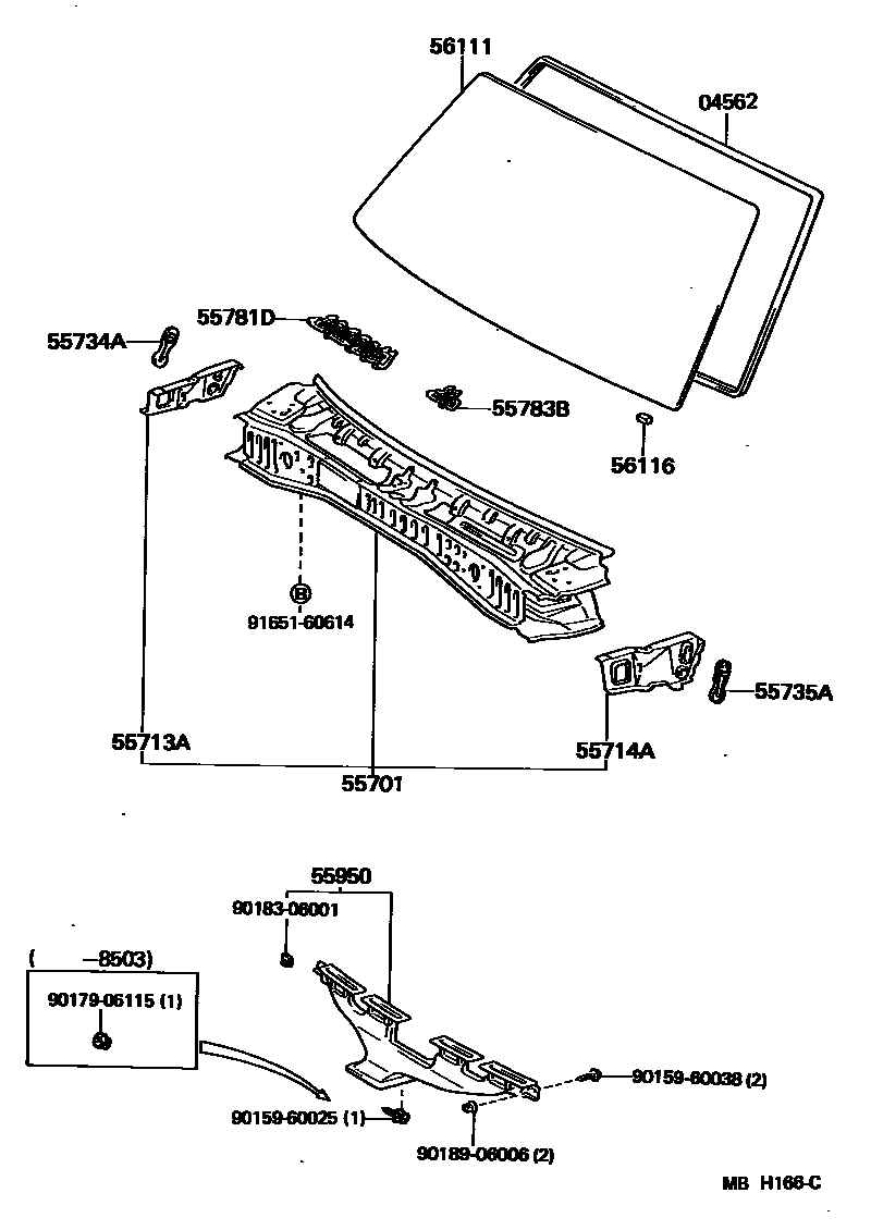
COWL PANEL & WINDSHIELD GLASS

04562DAM KIT, WINDSHIELD GLASS
55701PANEL SUB-ASSY, COWL
55713APANEL, COWL TOP SIDE, RH
55714APANEL, COWL TOP SIDE, LH
55734APLATE, WATER GUARD, RH
55735APLATE, WATER GUARD, LH
55781DLOUVER, COWL TOP VENTILATOR, RH
55783BLOUVER, COWL TOP VENTILATOR, CENTER NO.1
55950NOZZLE ASSY, DEFROSTER
56116SPACER, WINDSHIELD GLASS
9015960025
main90159-60025
9015960038
main90159-60038
9017906115
main90179-06115
9018306001
main90183-06001
9018906006
main90189-06006
9165160614
main91651-60614
17 parts on this diagram · 1 diagram in section