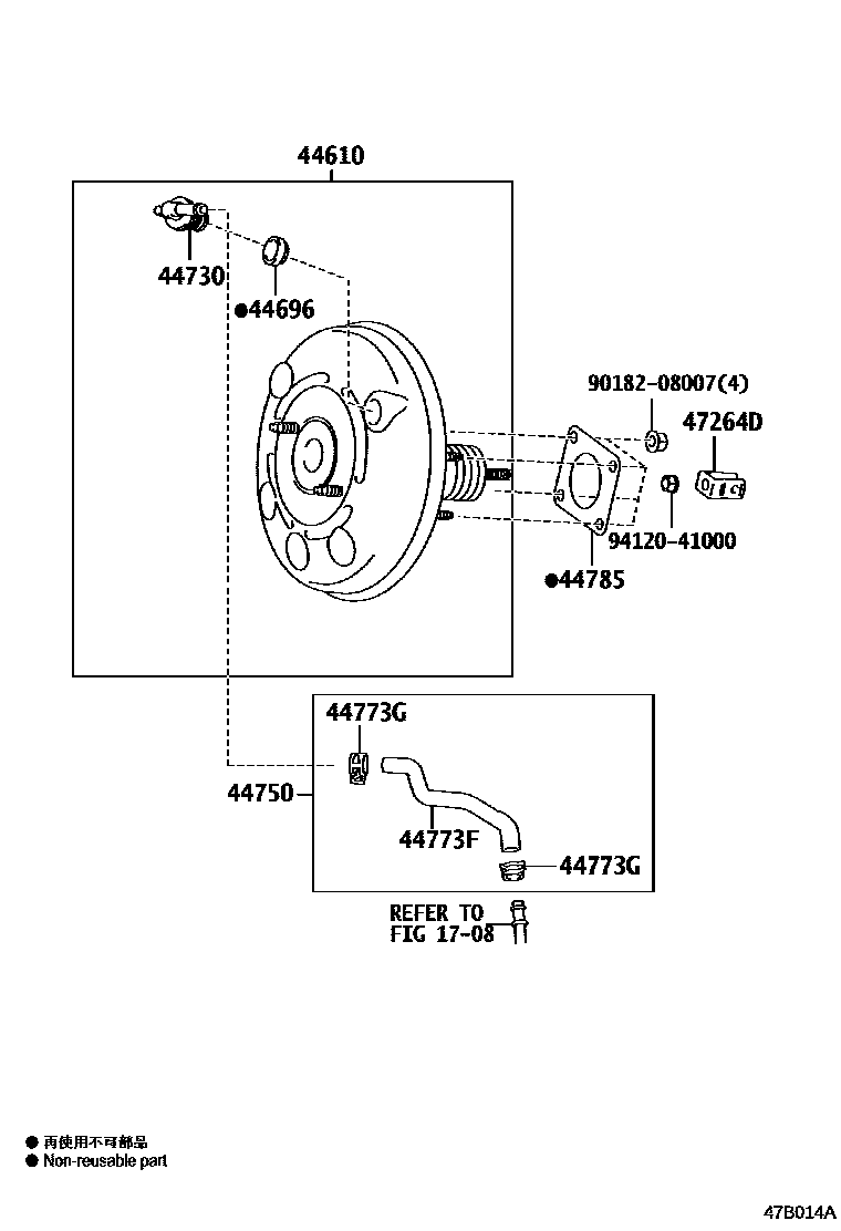
BRAKE BOOSTER & VACUUM TUBE

1708
44610BOOSTER ASSY, BRAKE
44696GROMMET, CHECK VALVE
44730VALVE ASSY, VACUUM CHECK(FOR BRAKE)
44750HOSE ASSY, VACUUM
44773FHOSE, UNION TO CHECK VALVE
44773GCLIP(FOR UNION TO CHECK VALVE HOSE)
44785GASKET, BRAKE BOOSTER
47264DCLEVIS, BRAKE MASTER CYLINDER PUSH ROD
9018208007
main90182-08007
9412041000
main94120-41000
11 parts on this diagram · 1 diagram in section