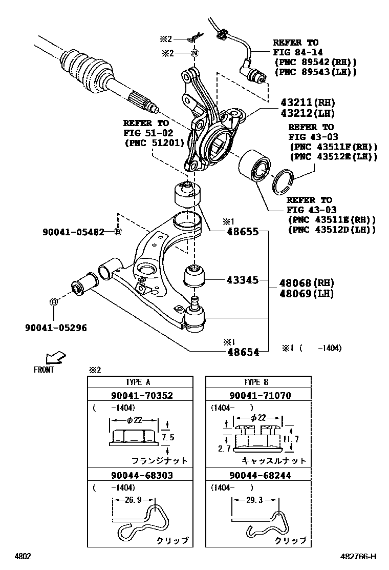
FRONT AXLE ARM & STEERING KNUCKLE

4303
43211KNUCKLE, STEERING, RH
43212KNUCKLE, STEERING, LH
48654BUSH, LOWER ARM
5102
8414
9004105296
main90041-05296
9004105482
main90041-05482
9004170352
main90041-70352
9004171070
main90041-71070
9004468244
main90044-68244
9004468303
main90044-68303
16 parts on this diagram · 1 diagram in section