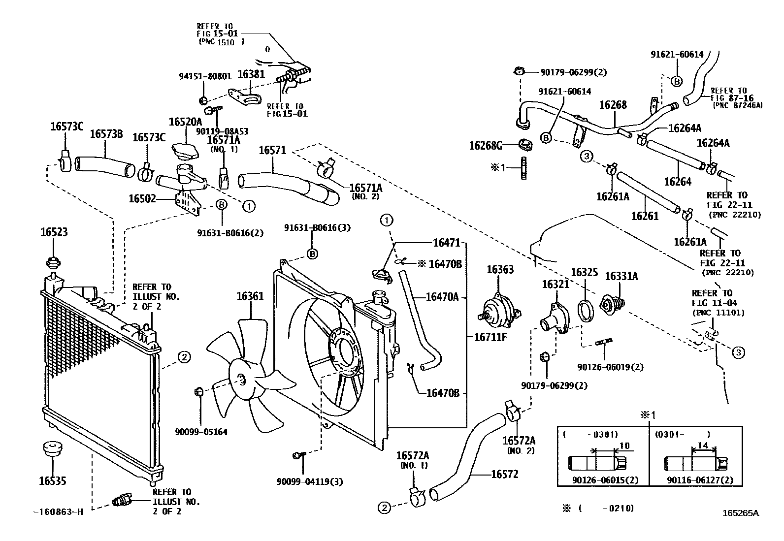
RADIATOR & WATER OUTLET

1104
1501
16261HOSE, WATER BY-PASS
16261ACLAMP OR CLIP, HOSE(FOR WATER BY-PASS HOSE)
16264HOSE, WATER BY-PASS, NO.2
16264ACLAMP OR CLIP(FOR WATER BY-PASS HOSE NO.2)
16268PIPE, WATER BY-PASS, NO.1
16321INLET, WATER
16325GASKET, WATER INLET HOUSING, NO.1
16331ATHERMOSTAT
16361FAN
16363MOTOR, COOLING FAN
sub16363-28160
16381BAR, FAN BELT ADJUSTING
16470AHOSE OR PIPE(FOR RADIATOR RESERVE TANK)
16470BCLAMP OR CLIP(FOR RADIATOR RESERVE TANK HOSE)
16471CAP SUB-ASSY, RESERVE TANK
16502FILLER SUB-ASSY, WATER
16520ACAP SUB-ASSY, WATER FILLER
sub16401-31520
16523CUSHION, SUB-RADIATOR SUPPORT
16535SUPPORT, RADIATOR, LOWER
16571HOSE, RADIATOR, INLET
16571ACLAMP OR CLIP, HOSE(FOR RADIATOR INLET)
16572HOSE, RADIATOR, OUTLET
16572ACLAMP OR CLIP, HOSE(FOR RADIATOR OUTLET NO.1)
16573BHOSE, RADIATOR, NO.3
16573CCLAMP OR CLIP, RADIATOR HOSE, NO.3
16711FSHROUD, FAN(W/RADIATOR RESERVE TANK)
2211
8716
9009904119
main90099-04119
9009905164
main90099-05164
9011606127
main90116-06127
9011908A53
main90119-08A53
9012606015
main90126-06015
9012606019
main90126-06019
9017906299
main90179-06299
9162160614
main91621-60614
91631B0616
main91631-B0616
9415180801
main94151-80801
40 parts on this diagram · 2 diagrams in section