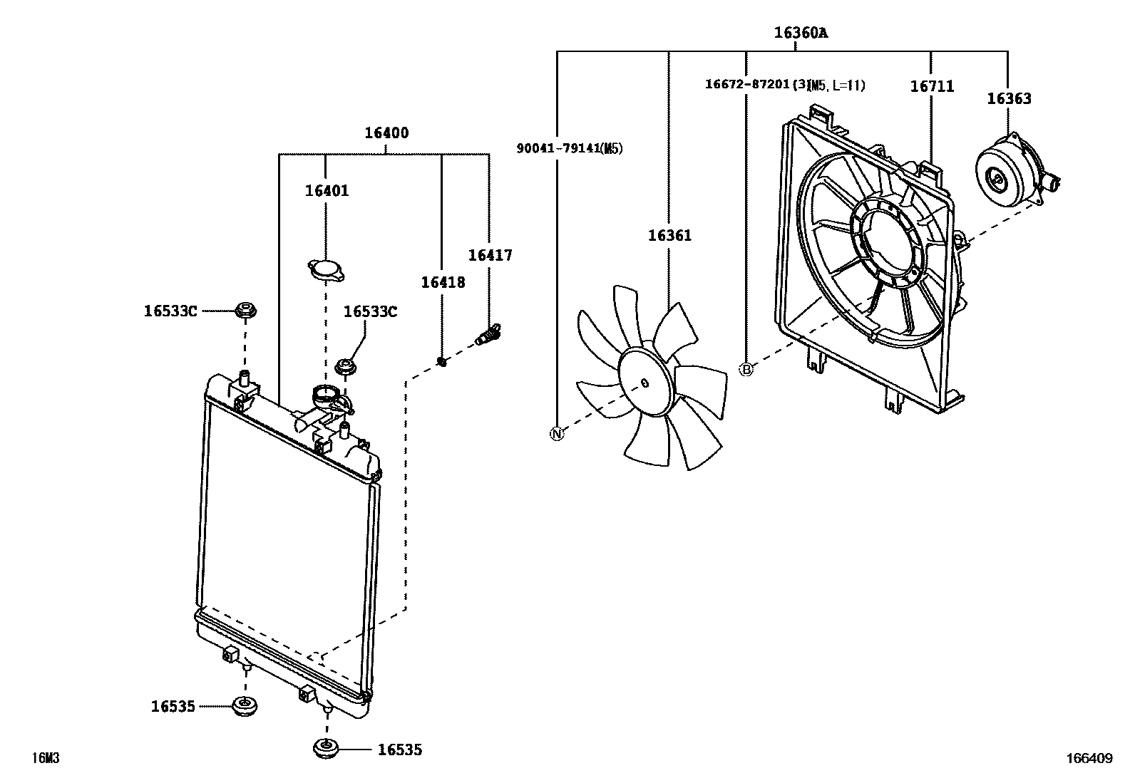
RADIATOR & WATER OUTLET

16361FAN
16363MOTOR, COOLING FAN
16400RADIATOR ASSY
16401CAP SUB-ASSY, RADIATOR
16417COCK
16418PACKING
16533CGROMMET(FOR RADIATOR SUPPORT)
16535SUPPORT, RADIATOR, LOWER
16711SHROUD, FAN
1667287201
main16672-87201
9004179141
main90041-79141
12 parts on this diagram · 2 diagrams in section