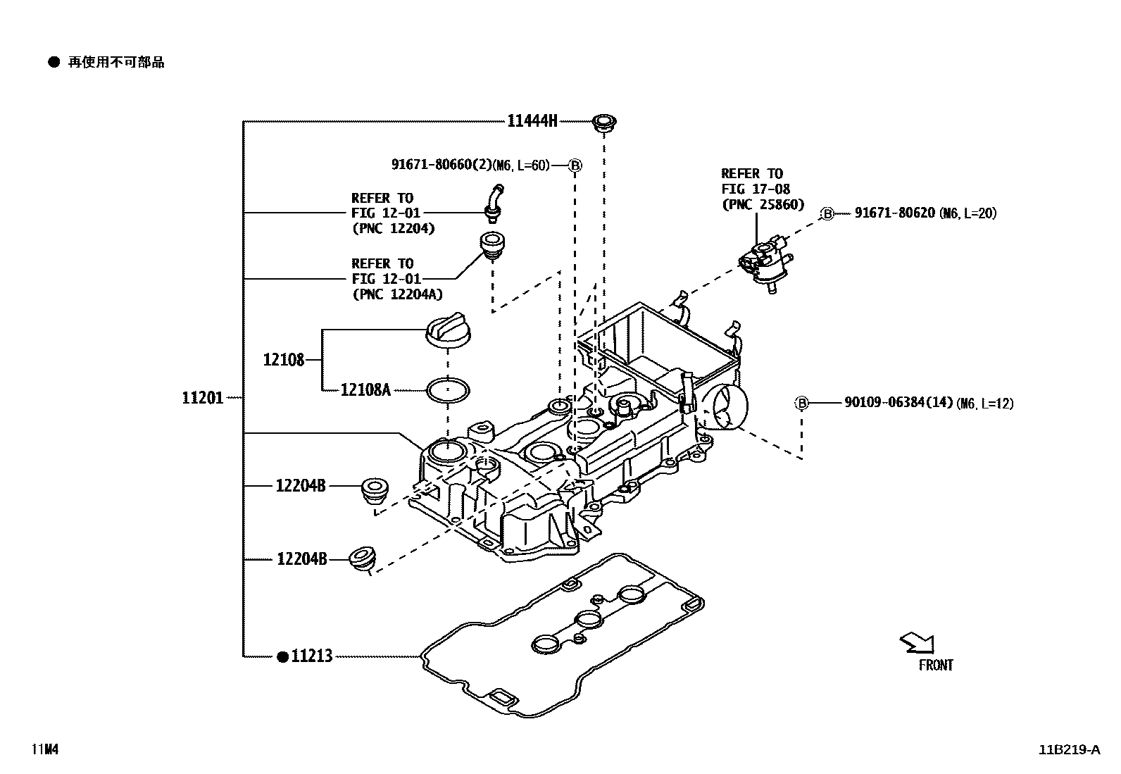
CYLINDER HEAD

11444HPLUG, HOLE(FOR CYLINDER HEAD)
1201
12108CAP SUB-ASSY, OIL FILLER
12108AGASKET(FOR OIL FILLER CAP)
12204BGROMMET(FOR VENTILATION SYSTEM)
1708
9010906384
main90109-06384
9167180620
main91671-80620
9167180660
main91671-80660
11 parts on this diagram · 2 diagrams in section