BRAKE BOOSTER & VACUUM TUBE

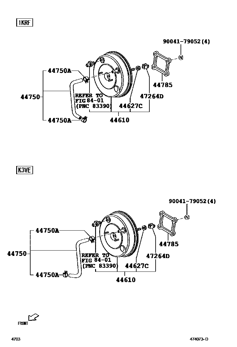
44610BOOSTER ASSY, BRAKE
44627CNUT, BOOSTER SLEEVE CYLINDER
44750ACLIP(FOR VACUUM HOSE ASSY)
44785GASKET, BRAKE BOOSTER
47264DCLEVIS, BRAKE MASTER CYLINDER PUSH ROD
8401
9004179052
main90041-79052
8 parts on this diagram · 1 diagram in section