RADIO RECEIVER & AMPLIFIER & CONDENSER

8301
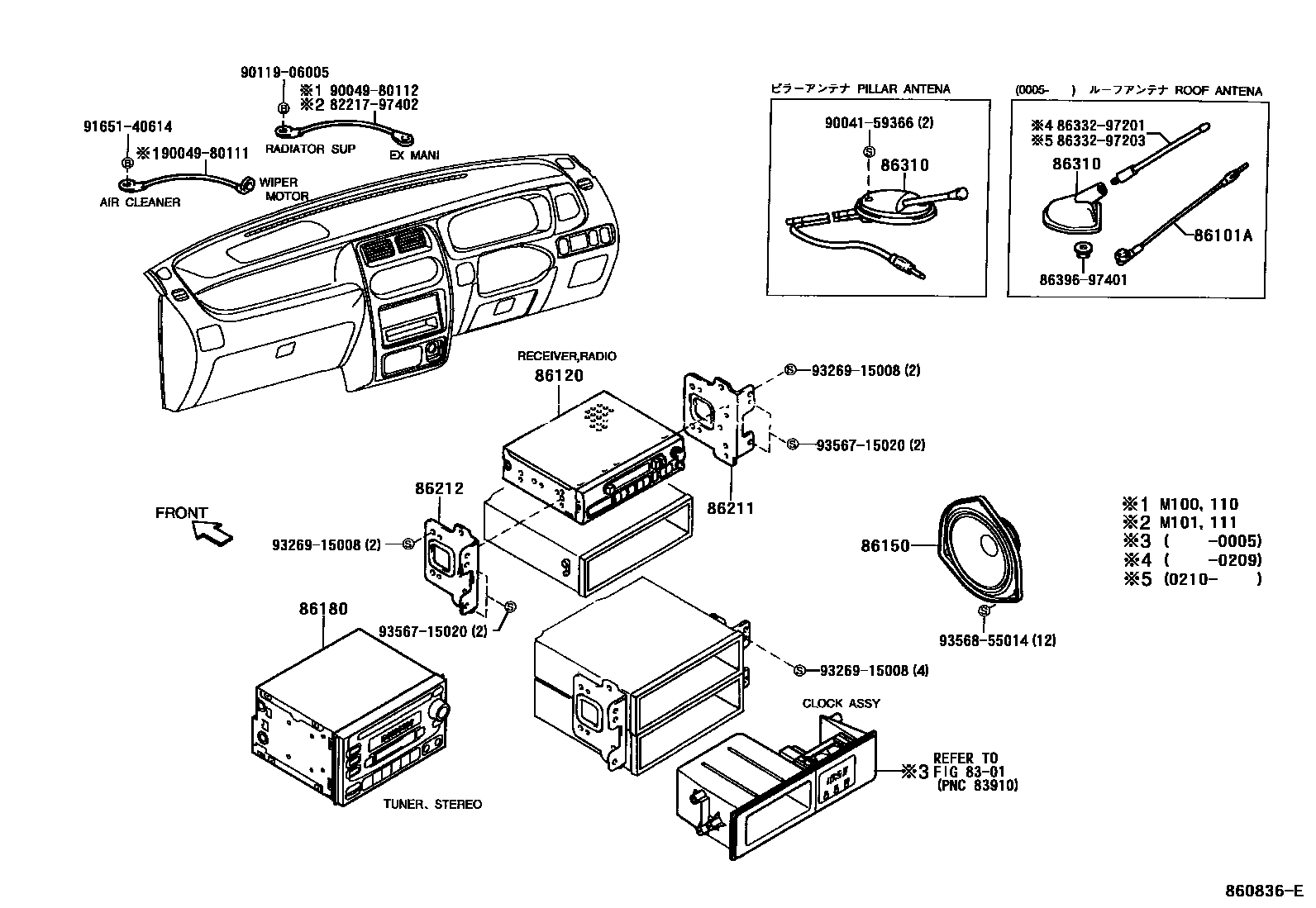
86101ACORD SUB-ASSY, ANTENNA, NO.1
86120RECEIVER ASSY, RADIO
86150SPEAKER ASSY, W/BOX, NO.1
8221797402WIRE, REAR WINDOW DEFOGGER SWITCH
main82217-97402
8633297201ROD, ANTENNA
main86332-97201
8633297203ROD, ANTENNA
main86332-97203
8639697401NUT, ANTENNA
main86396-97401
9004159366
main90041-59366
9004980111
main90049-80111
9004980112
main90049-80112
9011906005
main90119-06005
9165140614
main91651-40614
9326915008
main93269-15008
9356715020
main93567-15020
9356855014
main93568-55014
20 parts on this diagram · 1 diagram in section