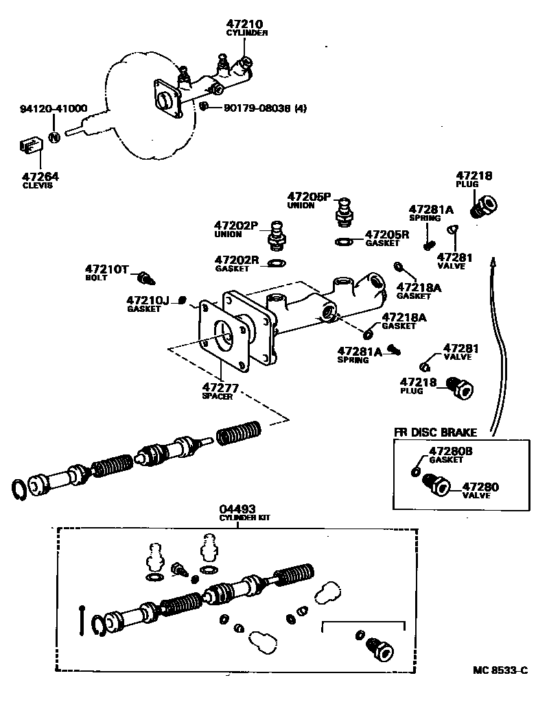
BRAKE MASTER CYLINDER

04493CYLINDER KIT, BRAKE MASTER
FR DRUM BRAKE
FR DISC BRAKE
sub04493-36081
FR DRUM BRAKE
sub04493-36111
FR DISC BRAKE
FR DRUM BRAKE
47202RESERVOIR SUB-ASSY, BRAKE MASTER CYLINDER
47202PUNION, RESERVOIR(FOR BRAKE MASTER CYLINDER SIDE)
47202RGASKET, RESERVOIR UNION(FOR BRAKE MASTER CYLINDER SIDE)
47205PUNION, RESERVOIR(FOR BRAKE MASTER CYLINDER REAR SIDE)
47205RGASKET, RESERVOIR UNION(FOR BRAKE MASTER CYLINDER REAR SIDE)
47210CYLINDER ASSY, MASTER, W/O BOOSTER
FR DRUM BRAKE
FR DISC BRAKE
FR DISC BRAKE
FR DRUM BRAKE
47210JGASKET(FOR MASTER CYLINDER)
47210TBOLT(FOR BRAKE MASTER CYLINDER)
47218PLUG, MASTER CYLINDER FLUID OUTLET
47218AGASKET(FOR FLUID OUTLET PLUG)
47264CLEVIS, MASTER CYLINDER PUSH ROD
47277SPACER, MASTER CYLINDER
47280BGASKET(FOR BRAKE MASTER CYLINDER OUTLET VALVE)
47281VALVE, BRAKE MASTER CYLINDER OUTLET CHECK
47281ASPRING COMPRESSION(FOR OUTLET CHECK VALVE)
9017908038
main90179-08038
9412041000
main94120-41000
19 parts on this diagram · 2 diagrams in section