E
EPC Data

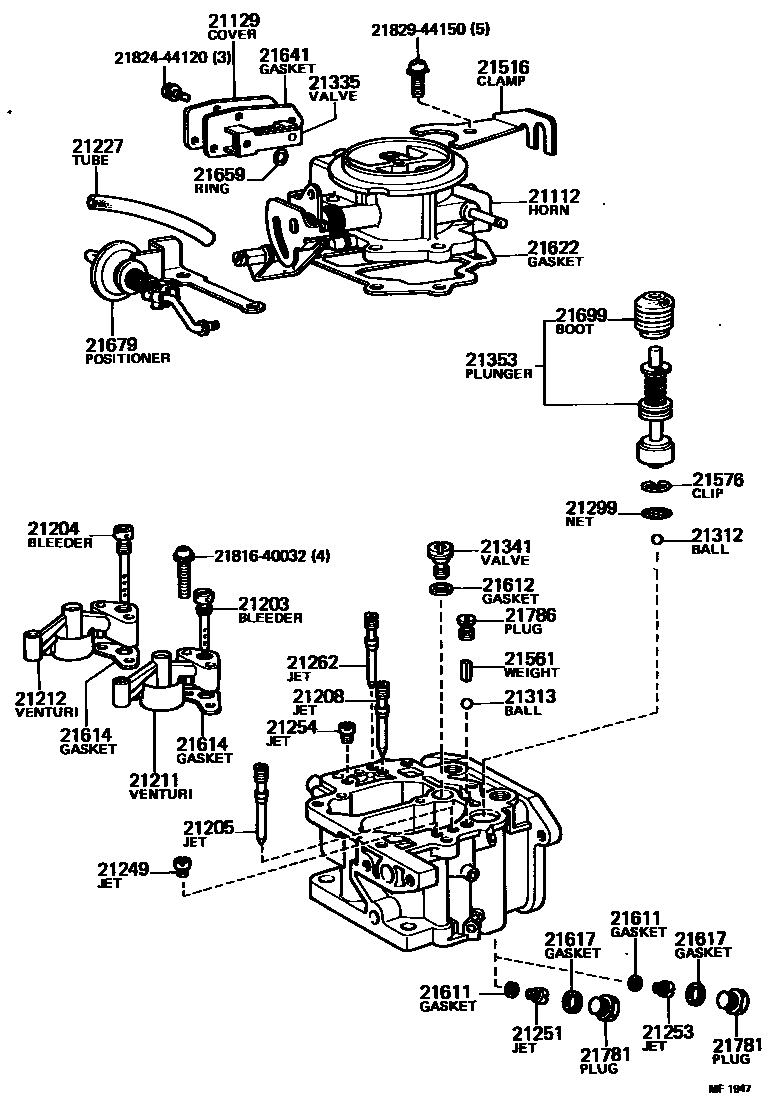
CARBURETOR

Parts diagram
21112HORN, AIR
main21012-44122i197708-197911
main21112-35131i198008-198204
main21112-38281i197708-197808
main21112-38282i197905-197911
main21112-38283i197808-197911
main21112-38450i197911-198008
21129COVER(FOR THERMOSTATIC VALVE)
main21398-44120i197708-197911
21203BLEEDER SUB-ASSY, 1ST MAIN AIR
main21203-44120i197708-197911
21204BLEEDER SUB-ASSY, 2ND MAIN AIR
main21203-44051i197708-197911
21205JET SUB-ASSY, SLOW
main21205-35050i198008-198204
ID=0.53
main21205-38010i197708-198008
ID=0.53
main21205-44250i197708-197911
ID=0.48
21208JET SUB-ASSY, STEP
main21208-44120i197708-197911
ID=0.60
21211VENTURI, 1ST SMALL
main21201-44120i197708-197911
21212VENTURI, 2ND SMALL
main21202-44122i197708-197911
21227TUBE, AIR VENT
main21681-44171i197708-197911
21249JET, AIR BLEED, NO.2
main21249-34400i197708-197911
ID=1.60
21251JET, 1ST MAIN
main21251-44250i197708-197911
ID=1.03
main90999-41105i198008-198204
ID=1.05
main90999-41109i197905-198204
ID=1.09
main90999-41119i197708-198008
ID=1.19
21253JET, 2ND MAIN
main21253-34400i197708-197911
ID=1.55
main21253-37040i198008-198204
main90999-42177i197708-198008
ID=1.77
21254JET, STEP AIR BLEED
main21204-44122i197708-197911
ID=1.00
21262JET, MAIN AIR BLEED
main21262-44250i197708-197911
ID=0.42
21299NET, PUMP FILTER
main21299-40020i197708-197911
21312BALL, STEEL
main21312-40020i197708-197911
21313BALL, STEEL, NO.1(FOR DISCHARGE WEIGHT)
main21312-40020i197708-197911
main21313-11020i197708-198008
21335VALVE, THERMOSTATIC
main21038-44122i197708-197911
main21335-37040i198008-198204
main21335-38010i197708-197808
main21335-38310i197808-198008
21341VALVE, POWER
main21302-36120i197708-197911
main21304-30010i197708-198008
main21304-61060i198008-198204
21353PLUNGER, PUMP
main21035-44052i197708-197911
main21353-44101i197708-198008
21516CLAMP, CONNECTOR
main21516-44170i197708-197911
21561WEIGHT, PUMP DISCHARGE
main21561-40020i197708-197911
21576CLIP, PUMP STRAINER
main21576-40020i197708-197911
21611GASKET, MAIN JET
main21611-22010i197708-198204
main21611-40021i197708-197911
21612GASKET, POWER VALVE
main21612-31100i197708-197911
21614GASKET, VENTURI
main21614-34031i197708-198008
1ST
main21614-44120i197708-197911
main21615-44010i197708-198008
2ND
21617GASKET, MAIN PASSAGE PLUG
main21617-30010i197708-198204
main21633-44150i197708-197911
21622GASKET, AIR HORN
main21622-37040i198008-198204
main21622-38110i197708-198008
main21622-44120i197708-197911
21641GASKET(FOR THERMOSTATIC VALVE COVER)
main21626-44120i197708-197911
main21641-37041i198008-198204
main21641-38080i197708-198008
21659RING, O(FOR THERMOSTATIC VALVE)
main21641-24030i197708-198008
main21655-31100i197708-197911
21679POSITIONER
main21039-44122i197708-197911
21699BOOT(FOR PUMP PLUNGER)
main21656-40021i197708-197911
main21699-21061i197708-198008
21781PLUG, MAIN PASSAGE(FOR CARBURETOR JET)
main21781-15230i198201-198204
main21781-30020i197708-198201
main21781-44150i197708-197911
21786PLUG, PUMP PASSAGE
main21787-40021i197708-197911
2181640032SCREW, SMALL VENTURI SET, NO.1
2182444120SCREW, SET(FOR 1ST IDLE CAM FOLLOWER SET)
2182944150SCREW, HIGH SPEED VALVE SET

37 parts on this diagram · 10 diagrams in section

CARBURETOR — Toyota Parts Diagram with OEM Numbers & Prices | EPC Data