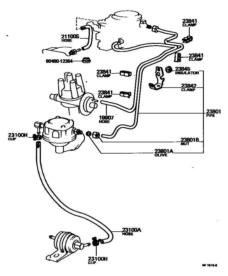
FUEL PIPE & CLAMP

19907HOSE, VACUUM, NO.1
L=730
21100SHOSE(FOR CARBURETOR TO MANIFOLD)
L=160
23100AHOSE, FUEL
23100HCLIP(FOR FUEL HOSE)
23801PIPE OR HOSE SUB-ASSY, CARBURETOR FUEL, NO.1
23801AOLIVE(FOR FUEL PIPE)
23801BNUT, UNION(FOR FUEL PIPE)
23841CLAMP, FUEL PIPE(HOSE), NO.1
23842CLAMP, FUEL PIPE(HOSE), NO.2
23845INSULATOR, FUEL PIPE
9048012354
main90480-12354
11 parts on this diagram · 3 diagrams in section