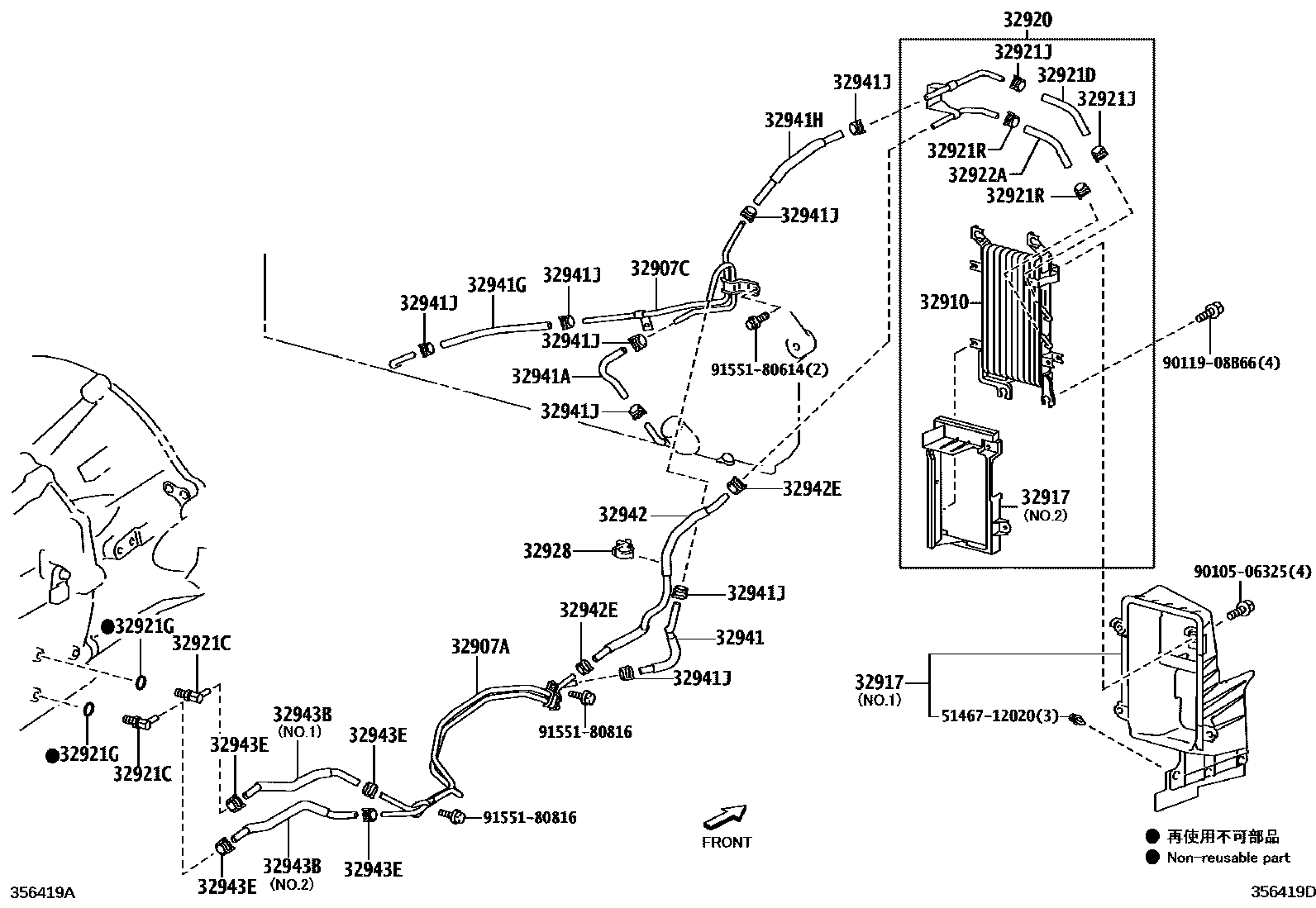
OIL COOLER & TUBE (ATM)

32907ATUBE, OIL COOLER
32917DUCT, TRANSMISSION OIL COOLER AIR
NO.2
NO.1
NO.1
NO.1
32921GRING, O(FOR OIL COOLER TUBE UNION)
32921JCLIP(FOR OIL COOLER HOSE)
32921RCLIP, NO.2(FOR OIL COOLER HOSE)
32928CLAMP, FLEXIBLE HOSE, NO.1
32941HOSE, OIL COOLER INLET, NO.1
32941AHOSE, OIL COOLER INLET, NO.2
32941HHOSE, OIL COOLER INLET, NO.4
32941JCLIP, NO.1(FOR OIL COOLER HOSE)
32942HOSE, OIL COOLER OUTLET, NO.1
32942ECLIP, NO.2(FOR OIL COOLER HOSE)
32943HOSE, TRANSMISSION OIL COOLER, NO.1
32943BHOSE, TRANSMISSION OIL COOLER
NO.2
NO.1
NO.1
NO.2
32943ECLIP, NO.3(FOR OIL COOLER HOSE)
5146712020RETAINER, ENGINE UNDER COVER
main51467-12020
9010506325
main90105-06325
9011908B66
main90119-08B66
9155180614
main91551-80614
9155180816
main91551-80816
27 parts on this diagram · 4 diagrams in section