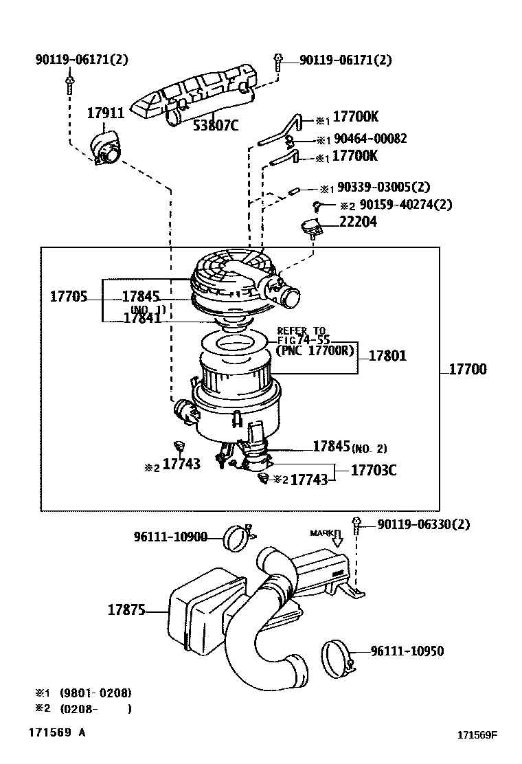
AIR CLEANER

17700CLEANER ASSY, AIR
17700KHOSE, VACUUM(FOR AIR CLEANER WARNING SENSOR)
*H,L=90,MARK=#*
*H,L=400,MARK=#*
17703CCAP SUB-ASSY, DUST
17705CAP SUB-ASSY, AIR CLEANER
17743VALVE, DUST RELIEF
17801ELEMENT SUB-ASSY, AIR CLEANER FILTER
17841GASKET, FILTER ELEMENT
17845GASKET, AIR CLEANER CAP
NO.1
NO.2
17875PIPE, INTAKE AIR CONNECTOR
MARK 17875-50210
MARK 17875-50280
17911DUCT, COOL AIR INTAKE, NO.1
22204METER SUB-ASSY, INTAKE AIR FLOW
53807CDUCT SUB-ASSY, FRONT FENDER AIR, RH
7455
9011906171
main90119-06171
9011906330
main90119-06330
9015940274
main90159-40274
9033903005
main90339-03005
9046400082
main90464-00082
9611110900
main96111-10900
9611110950
main96111-10950
20 parts on this diagram · 1 diagram in section