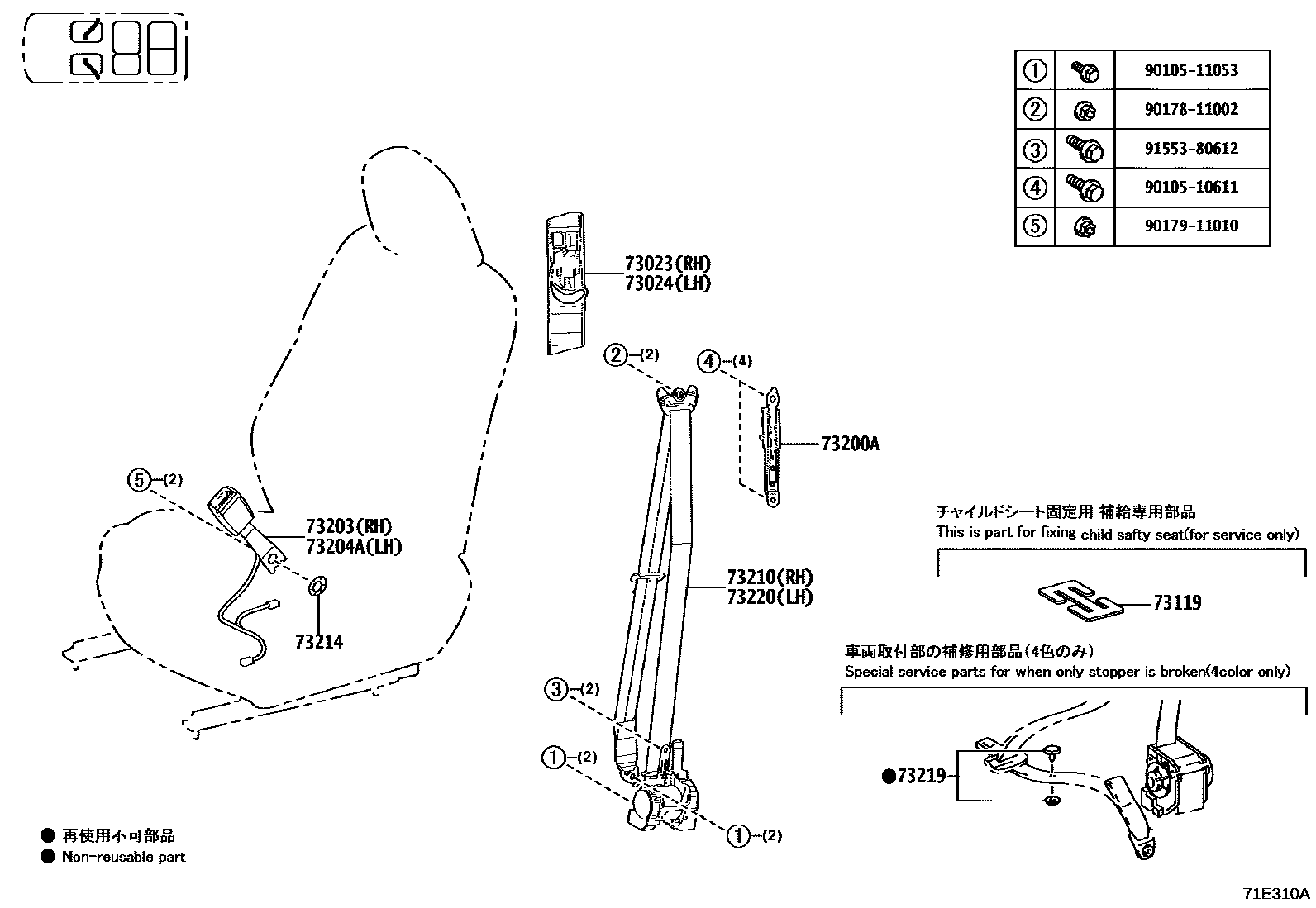
SEAT BELT

73023PLATE SUB-ASSY, FRONT SHOULDER BELT ANCHOR, RH
BLACK,TRIM0#,2#,3#,4#
73024PLATE SUB-ASSY, FRONT SHOULDER BELT ANCHOR, LH
BLACK,TRIM0#,2#,3#,4#
73119PLATE, SEAT BELT WEBBING CLIP
73200AADJUSTER ASSY, FRONT SHOULDER BELT ANCHOR
73203BELT SET, FRONT SEAT, RH
BLACK,TRIM0#,2#,3#,4#
"EXECUTIVE"&REAR NO.1 SEAT-POWER SEAT(WITH(LIFTER)),BLACK,TRIM2#,4#
BLACK,TRIM0#,2#,3#,4#
73204ABELT SET, FRONT SEAT, LH
BLACK,TRIM0#,2#,3#,4#
"EXECUTIVE"&REAR NO.1 SEAT-POWER SEAT(WITHOUT(LIFTER))&REAR NO.2 SEAT-WITHOUT,BLACK,TRIM2#,4#
BLACK,TRIM0#,2#,3#,4#
"EXECUTIVE"&REAR NO.1 SEAT-POWER SEAT(WITH(LIFTER)),BLACK,TRIM2#,4#
73210BELT ASSY, FRONT SEAT OUTER, RH
BLACK,TRIM0#,2#,3#,4#
INDONESIA SPEC,BLACK,TRIM0#,2#,3#,4#
sub73210-60B71
SOUTH AFRICA SPEC,BLACK,TRIM0#,2#,3#,4#
sub73210-60B71
SOUTH AFRICA SPEC,BLACK,TRIM0#,2#,3#,4#
sub73210-60B72
BRUNEI SPEC,BLACK,TRIM0#,2#,3#,4#
BLACK,TRIM0#,2#,3#,4#
SOUTH AFRICA SPEC,BLACK,TRIM0#,2#,3#,4#
INDONESIA SPEC,BLACK,TRIM0#,2#,3#,4#
MALAYSIA SPEC,BLACK,TRIM0#,2#,3#,4#
THAI SPEC,BLACK,TRIM0#,2#,3#,4#
INDIA SPEC,BLACK,TRIM0#,2#,3#,4#
INDIA SPEC,BLACK,TRIM0#,2#,3#,4#
BLACK,TRIM0#,2#,3#,4#
73214PLATE, FRONT SEAT BELT ANCHOR
73219STOPPER, TONGUE PLATE
BLACK
GRAY
BEIGE
MELLOW WHITE
73220BELT ASSY, FRONT SEAT OUTER, LH
BLACK,TRIM0#,2#,3#,4#
INDIA SPEC,BLACK,TRIM0#,2#,3#,4#
INDIA SPEC,BLACK,TRIM0#,2#,3#,4#
BLACK,TRIM0#,2#,3#,4#
9010510611
main90105-10611
9010511053
main90105-11053
9017811002
main90178-11002
9017911010
main90179-11010
9155380612
main91553-80612
15 parts on this diagram · 6 diagrams in section