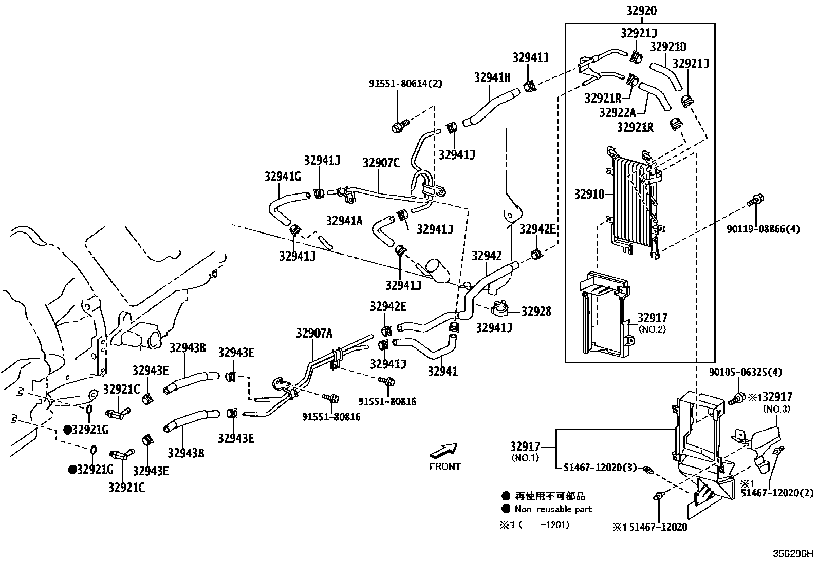
OIL COOLER & TUBE (ATM)

32907ATUBE, OIL COOLER
32907CTUBE SUB-ASSY, OIL COOLER W/O HOSE, NO.1
32910COOLER ASSY, OIL
main32910-60161iURJ202..VX..GCC;URJ202..VXR..GEN;VDJ200..05S..6FC;URJ202..(GXR,VX)..ARL;VDJ200..(VX,VXR)..GCC201508-202103
32917DUCT, TRANSMISSION OIL COOLER AIR
NO.1
NO.2
NO.3
NO.1
main32917-60090iURJ202..VX..GCC;URJ202..VXR..GEN;VDJ200..05S..6FC;URJ202..(GXR,VX)..ARL;VDJ200..(VX,VXR)..GCC201508-202103
NO.1
32920COOLER ASSY, OIL W/HOSE
main32920-60191iURJ202..VX..GCC;URJ202..VXR..GEN;VDJ200..05S..6FC;URJ202..(GXR,VX)..ARL;VDJ200..(VX,VXR)..GCC201508-202103
32921CUNION(FOR OIL COOLER TUBE)
main90407-14034×2iURJ202..ARL;URJ202..VX..GCC;VDJ200..6FC..GX;URJ202..VXR..GEN;VDJ200..(VX,VXR)..GCC201806-202103
32921DHOSE(FOR OIL COOLER INLET)
main32943-60790iURJ202..VX..GCC;URJ202..VXR..GEN;VDJ200..05S..6FC;URJ202..(GXR,VX)..ARL;VDJ200..(VX,VXR)..GCC201508-202103
32921GRING, O(FOR OIL COOLER TUBE UNION)
32921JCLIP(FOR OIL COOLER HOSE)
32921RCLIP, NO.2(FOR OIL COOLER HOSE)
32922AHOSE(FOR OIL COOLER OUTLET)
main32943-60790iURJ202..VX..GCC;URJ202..VXR..GEN;VDJ200..05S..6FC;URJ202..(GXR,VX)..ARL;VDJ200..(VX,VXR)..GCC201508-202103
32928CLAMP, FLEXIBLE HOSE, NO.1
32941HOSE, OIL COOLER INLET, NO.1
32941AHOSE, OIL COOLER INLET, NO.2
32941HHOSE, OIL COOLER INLET, NO.4
32941JCLIP, NO.1(FOR OIL COOLER HOSE)
32942HOSE, OIL COOLER OUTLET, NO.1
32942ECLIP, NO.2(FOR OIL COOLER HOSE)
32943HOSE, TRANSMISSION OIL COOLER, NO.1
32943BHOSE, TRANSMISSION OIL COOLER
NO.1
NO.2
NO.1
NO.2
NO.1:REFER ILLUST.
NO.2:REFER ILLUST.
32943ECLIP, NO.3(FOR OIL COOLER HOSE)
5146712020RETAINER, ENGINE UNDER COVER
main51467-12020
9010506325
main90105-06325
9011908B66
main90119-08B66
9155180614
main91551-80614
9155180816
main91551-80816
27 parts on this diagram · 9 diagrams in section