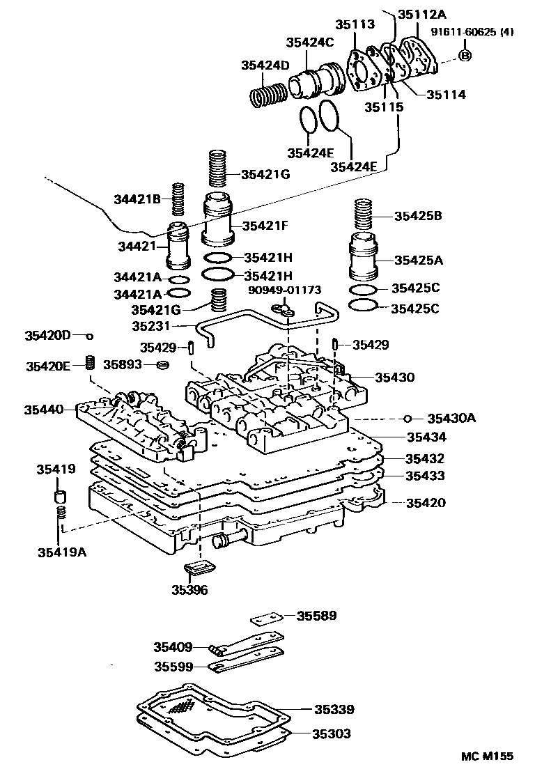
VALVE BODY & OIL STRAINER (ATM)

34421ARING, O (FOR OVERDRIVE BRAKE ACCUMULATOR PISTON)
UPPER
LOWER
34421BSPRING (FOR OVERDRIVE BRAKE ACCUMULATOR PISTON)
35112ACOVER, FRONT CLUTCH ACCUMULATOR
35115PLATE, FRONT CLUTCH ACCUMULATOR
35231TUBE, LOCK UP SIGNAL VALVE APPLY
35303STRAINER SUB-ASSY, OIL
35339GASKET, OIL STRAINER
sub35339-60020
35396STRAINER, THROTTLE OIL
35409SPRING SUB-ASSY, MANUAL DETENT
35419VALVE, CHECK, NO.1
35419ASPRING, COMPRESSION (FOR CHECK VALVE)
35420BODY ASSY, LOWER VALVE
W(CRUISE CONTROL)
W(CRUISE CONTROL)
35420DBALL (FOR LOWER VALVE BODY)
OD=6.35
OD=8.73
35420ESPRING (FOR LOWER VALVE BODY)
35421FPISTON, ACCUMULATOR, NO.2
W(*CDL & PTO DRIVE GEAR)
35421GSPRING, COMPRESSION (FOR ACCUMULATOR PISTON NO.2)
LOWER
UPPER
UPPER
LOWER
LOWER
UPPER
LOWER
LOWER
UPPER
UPPER
LOWER
35421HRING (FOR ACCUMULATOR PISTON NO.2)
UPPER
LOWER
35424CPISTON, C-1 ACCUMULATOR
35424DSPRING, COMPRESSION (FOR C-1 ACCUMULATOR PISTON)
35424ERING, O (FOR C-1 ACCUMULATOR PISTON)
LOWER
UPPER
35425APISTON, C-2 ACCUMULATOR
W(*CDL & PTO DRIVE GEAR)
35425BSPRING, COMPRESSION (FOR C-2 ACCUMULATOR PISTON)
LOWER
UPPER
UPPER
35425CRING, O (FOR C-2 ACCUMULATOR PISTON)
UPPER
LOWER
35429TUBE, LINE PRESSURE
35430BODY ASSY, REAR UPPER VALVE
W(CRUISE CONTROL)
W(CRUISE CONTROL)
35430ABALL (FOR REAR UPPER VALVE BODY)
OD=6.35
OD=6.35,W(CRUISE CONTROL)
35432PLATE, VALVE BODY, NO.1
W(CRUISE CONTROL)
W(CRUISE CONTROL)
W(CRUISE CONTROL)
35589SPACER, MANUAL DETENT SPRING
35599COVER, MANUAL DETENT SPRING
35893GASKET, CENTER SUPPORT APPLY
9094901173
main90949-01173
9161160625
main91611-60625
38 parts on this diagram · 12 diagrams in section