E
EPC Data
Pricing
API Docs
Sign In
Home
›
GR
›
791330
›
VENTILATION HOSE
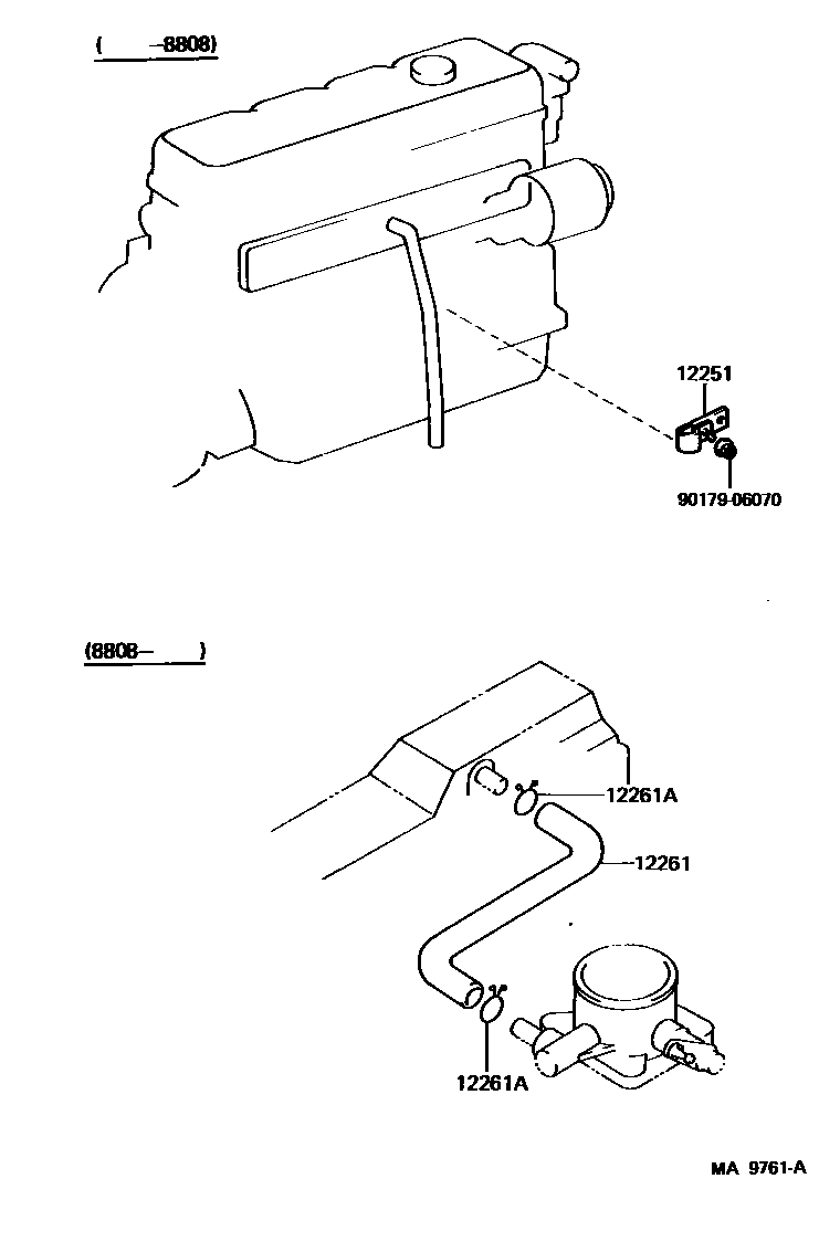
VENTILATION HOSE
0001 1
0002 1
0003 1
0004 1
12251
CLAMP, VENTILATION TUBE
main
12251-56040
i
3B..BJ60
198708-198808
12261
HOSE, VENTILATION
main
12261-58030
i
3B..BJ60
198808-199001
main
12261-68010
i
2H..HJ60
198708-199001
main
12261-68030
i
12HT..HJ61
198708-199001
12261A
CLIP OR CLAMP(FOR VENTILATION HOSE)
main
90467-23002
i
12HT,2H..HJ6#
198708-199001
9017906070
main
90179-06070
4 parts on this diagram · 4 diagrams in section
VENTILATION HOSE — Toyota Parts Diagram with OEM Numbers & Prices | EPC Data