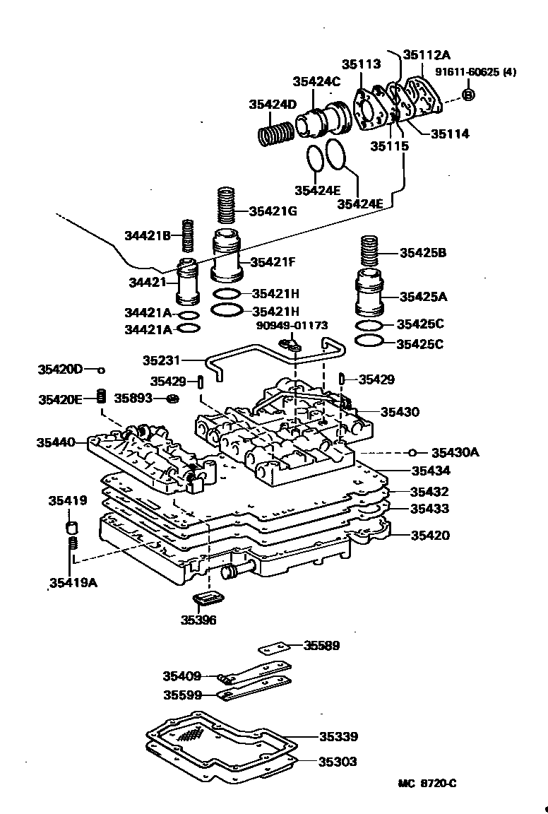
VALVE BODY & OIL STRAINER (ATM)

34421PISTON, OVERDRIVE BRAKE ACCUMULATOR
sub34421-37010
34421ARING, O (FOR OVERDRIVE BRAKE ACCUMULATOR PISTON)
UPR
LWR
34421BSPRING (FOR OVERDRIVE BRAKE ACCUMULATOR PISTON)
35112ACOVER, FRONT CLUTCH ACCUMULATOR
35113GASKET, FRONT CLUTCH ACCUMLATOR, NO.2
sub35113-60010
35114GASKET, FRONT CLUTCH ACCUMLATOR, NO.1
sub35114-60010
35115PLATE, FRONT CLUTCH ACCUMULATOR
35231TUBE, LOCK UP SIGNAL VALVE APPLY
RR UPR VALVE BODY
FR X RR UPR VALVE BODY
35303STRAINER SUB-ASSY, OIL
35339GASKET, OIL STRAINER
sub35339-60020
35396STRAINER, THROTTLE OIL
35409SPRING SUB-ASSY, MANUAL DETENT
35419VALVE, CHECK, NO.1
35419ASPRING, COMPRESSION (FOR CHECK VALVE)
35420BODY ASSY, LOWER VALVE
sub35420-60012
35420DBALL (FOR LOWER VALVE BODY)
OD=6.35,OD=6.35
OD=8.73,OD=8.73
35421FPISTON, ACCUMULATOR, NO.2
35421GSPRING, COMPRESSION (FOR ACCUMULATOR PISTON NO.2)
35421HRING (FOR ACCUMULATOR PISTON NO.2)
UPR
LWR
35424CPISTON, C-1 ACCUMULATOR
35424DSPRING, COMPRESSION (FOR C-1 ACCUMULATOR PISTON)
35424ERING, O (FOR C-1 ACCUMULATOR PISTON)
FR
RR
35425APISTON, C-2 ACCUMULATOR
35425BSPRING, COMPRESSION (FOR C-2 ACCUMULATOR PISTON)
35425CRING, O (FOR C-2 ACCUMULATOR PISTON)
UPR
LWR
35429TUBE, LINE PRESSURE
35430BODY ASSY, REAR UPPER VALVE
RR AXLE : SEMI FLOATING
TIRE & WHEEL:H78-15,4X5.5JJ-15
W/MECHANICAL WINCH
35430ABALL (FOR REAR UPPER VALVE BODY)
OD=6.35
35433GASKET, VALVE BODY, NO.1
35434GASKET, VALVE BODY, NO.2
35589SPACER, MANUAL DETENT SPRING
35599COVER, MANUAL DETENT SPRING
35893GASKET, CENTER SUPPORT APPLY
9094901173
main90949-01173
9161160625
main91611-60625
38 parts on this diagram · 5 diagrams in section