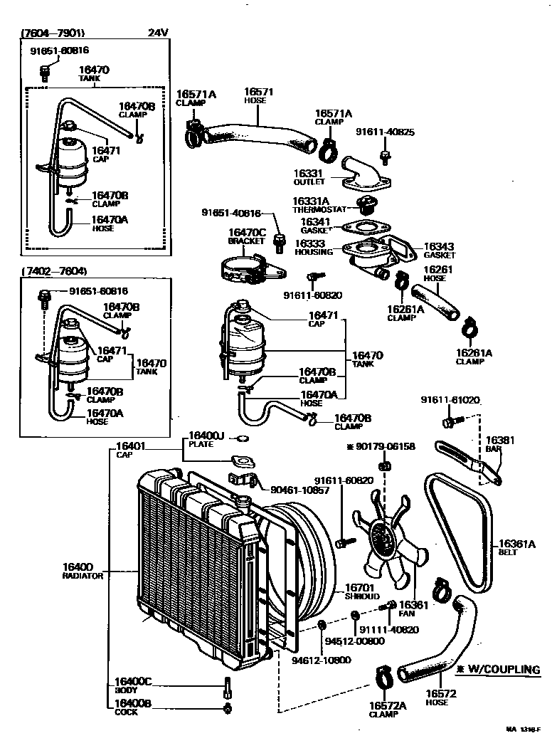
RADIATOR & WATER OUTLET

16331OUTLET, WATER
W/SPARK CONTROL VALVE DENSO
FOR TROPICAL
FOR TROPICAL WITH OIL COOLER
W/OIL COOLER
W/OIL COOLER
16331ATHERMOSTAT
WAX 82-95 FUJI-THOMSON
WAX 82-95 FUJI-THOMSON ARCTIC
WAX 76.5-90 FUJI-THOMSON
*WAX 82-95,WAX 82-95 FUJI-THOMSON
16333HOUSING, WATER OUTLET
NEW SOUTH WALES
NEW SOUTH WALES
sub16333-47012
L/THERMOSTAT
TROPICAL
sub16333-56012
sub16333-56020
16361FAN
W/COUPLING,7 BLADES
W/COUPLING,7 BLADES
6 BLADES
sub16361-61010
6 BLADES
4 BLADES
5 BLADES
HONG KONG SPEC.
8 BLADES
8 BLADES FOR EUROPE
8 BLADES,FOR VEHICLE NOISE
6 BLADES
8 BLADES 0/S FAN
HONG KONG SPEC.
7 BLADES TEMPERD TYPE
HONG KONG SPEC.
7 BLADES TEMPERD TYPE
TEMPERD TYPE,W/COOLER
16361ABELT, V(FOR FAN & ALTERNATOR)
L=1175
L=1175
16381BAR, FAN BELT ADJUSTING
NEW SOUTH WALES
NEW SOUTH WALES
16400RADIATOR ASSY
sub16400-49266
sub16400-49267
W/COOLER
sub16400-60012
sub16400-60121
sub16400-60122
sub16400-60131
sub16400-49356
TEMPERD TYPE,W/COOLER
16400CBODY, RADIATOR DRAIN COCK
sub96431-03873
16400JPLATE, RADIATOR CAP CAUTION
16470AHOSE OR PIPE(FOR RADIATOR RESERVE TANK)
L=600,12V
16470BCLAMP OR CLIP(FOR RADIATOR RESERVE TANK HOSE)
16470CBRACKET(FOR RADIATOR RESERVE TANK)
24V
12V
12V
16572HOSE, RADIATOR, OUTLET
W/COOLER RADIATOR SIDE
RADIATOR SIDE
W/COOLER RADIATOR SIDE
PUMP SIDE
PUMP SIDE
RADIATOR SIDE
PUMP SIDE
RADIATOR SIDE
W/COOLER PUMP SIDE
RADIATOR SIDE
W/COOLER PUMP SIDE
W/COOLER PUMP SIDE
16572ACLAMP OR CLIP, HOSE(FOR RADIATOR OUTLET NO.1)
ID=49
ID=50(FJ=1)
ID=56
ID=57
ID=58
ID=60,W/COOLER
16701SHROUD SUB-ASSY, FAN
sub16701-56021
sub16711-60012
sub16711-61020
W/COOLER
sub16711-61012
sub16711-61022
O/S FAN
TROPICAL
FOR TROPICAL
W/COOLER OR O/S FAN
FOR VEHICLE NOISE
W/COOLER OR O/S FAN
TEMPERD FAN OD=450 7 BLADES
HONG KONG SPEC.
TEMPERD FAN OD=430 7 BLADES
HONG KONG SPEC.
W/COOLER OR O/S FAN
9017906158
main90179-06158
9046110857
main90461-10857
9111140820
main91111-40820
9161140825
main91611-40825
9161160820
main91611-60820
9161161020
main91611-61020
9165140616
main91651-40616
9165160816
main91651-60816
9451200800
main94512-00800
9461210800
main94612-10800
35 parts on this diagram · 8 diagrams in section