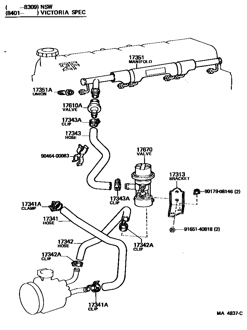
MANIFOLD AIR INJECTION SYSTEM

17313BRACKET, AIR BY-PASS VALVE
VICTORIA SPEC
17341HOSE, NO.1(FOR AIR INJECTION SYSTEM)
*NSW
17341ACLAMP OR CLIP, NO.1(FOR AIR INJECTION SYSTEM HOSE, NO.1)
*NSW,CLEANER SIDE
*NSW,CLEANER SIDE
17342HOSE, NO.2(FOR AIR INJECTION SYSTEM)
VICTORIA SPEC
17342ACLAMP OR CLIP, NO.2(FOR AIR INJECTION SYSTEM HOSE, NO.2)
17343HOSE, NO.3(FOR AIR INJECTION SYSTEM)
*NSW
17343ACLAMP OR CLIP, NO.3(FOR AIR INJECTION SYSTEM HOSE, NO.3)
17351MANIFOLD, AIR INJECTION
*NSW
17351AUNION, AIR INJECTION
*NSW
17610AVALVE, CHECK(FOR AIR INJECTION SYSTEM)
*NSW
17670VALVE ASSY, AIR BY-PASS
*NSW
9017908146
main90179-08146
9046400063
main90464-00063
9165140818
main91651-40818
14 parts on this diagram · 1 diagram in section