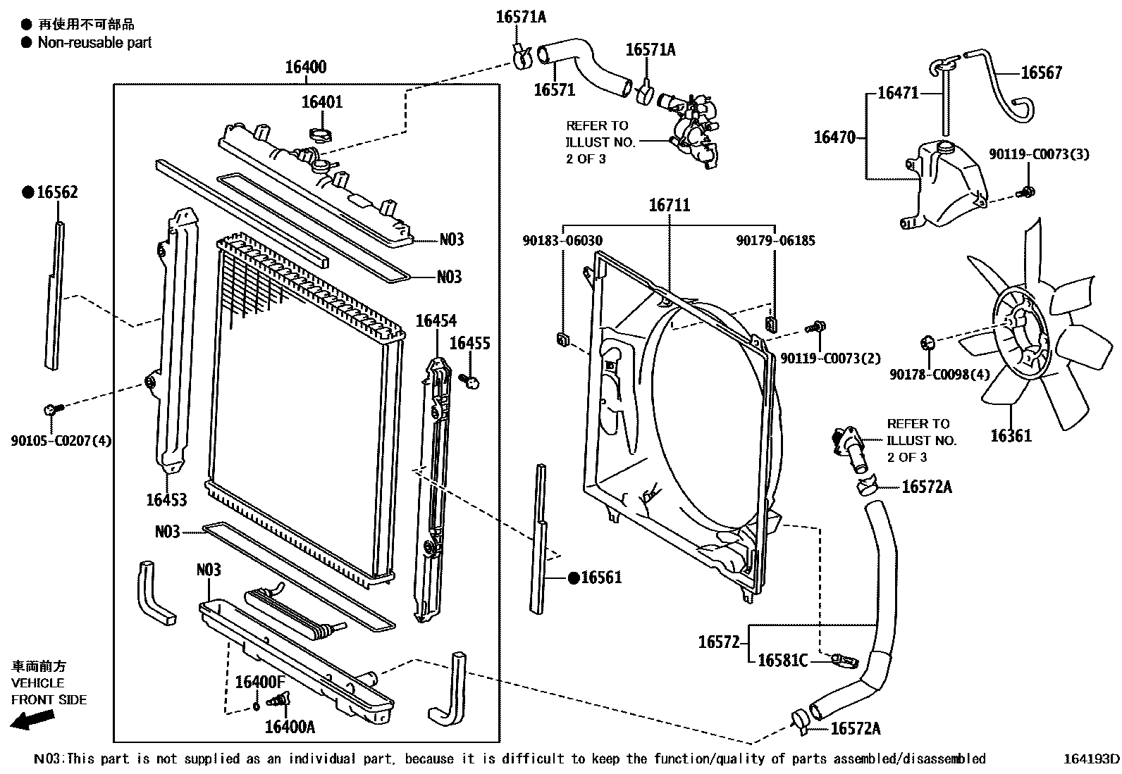
RADIATOR & WATER OUTLET

16400RADIATOR ASSY
16400ACOCK SUB-ASSY, RADIATOR DRAIN
16400FPACKING(FOR RADIATOR DRAIN COCK)
16453PLATE, RADIATOR SIDE
16454PLATE, RADIATOR SIDE
16455BOLT, RADIATOR SIDE SUPPORT PLATE
16470TANK ASSY, RADIATOR RESERVE
16471CAP SUB-ASSY, RESERVE TANK
16561SEAL, RADIATOR TO SUPPORT, NO.1
16562SEAL, RADIATOR TO SUPPORT, NO.2
16567HOSE(FOR RADIATOR RESERVE TANK)
16571HOSE, RADIATOR, INLET
16571ACLAMP OR CLIP, HOSE(FOR RADIATOR INLET)
16572HOSE, RADIATOR, OUTLET
16572ACLAMP OR CLIP, HOSE(FOR RADIATOR OUTLET NO.1)
16581CCLAMP, HOSE(FOR RADIATOR HOSE NO.2)
16711SHROUD, FAN
(L)
90105C0207
main90105-C0207
90119C0073
main90119-C0073
90178C0098
main90178-C0098
9017906185
main90179-06185
9018306030
main90183-06030
24 parts on this diagram · 10 diagrams in section