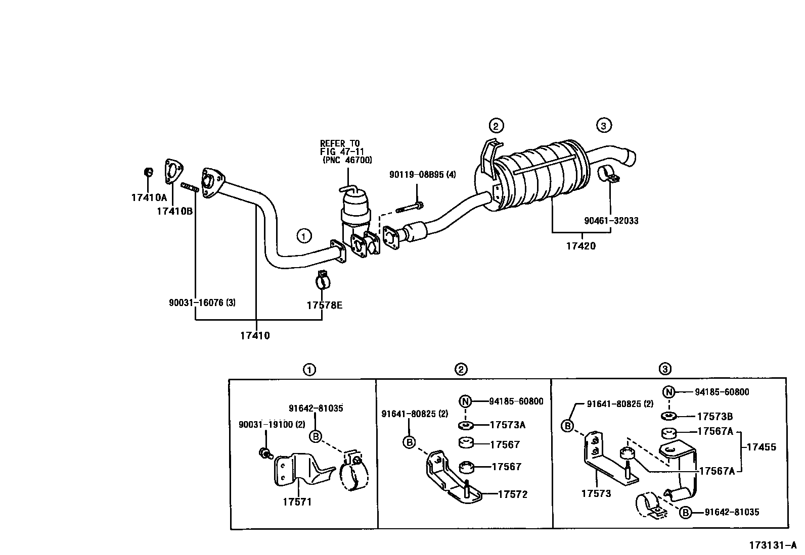
EXHAUST PIPE

17410ANUT, EXHAUST PIPE SET STUD BOLT
main90179-10070iW04D..WU410..65T;W04D..WU410..75T..GEN;N04C,W04D..WU412,42#,XZU413,415,417,419,423,425,427,429,433,435,439..DCRTJ,DCRTK,DSL200110-201208
17410BGASKET, EXHAUST PIPE
17420PIPE ASSY, EXHAUST, CENTER
sub17403-58630
LONG TAIL PIPE
SHORT TAIL PIPE
VERTICAL TAIL PIPE
VERTICAL TAIL PIPE
EXHAUST TAIL PIPE=REAR
SHORT TAIL PIPE
EXHAUST TAIL PIPE=REAR
*114=TOYOTA/7811/Y
*114=TOYOTA/7828/Y
17455BRACKET, EXHAUST PIPE
main17455-78020iS05C..XZU412,422..6F;S05C..XZU412..RHD..TD;S05C..XZU414,424..LHD..GEN;S05C..XZU404,414,424,434..ARL,EUR200110-200802
LONG TAIL PIPE
main17455-78030iS05C..XZU422..85T;S05C..XZU422..5F..75T..TD;S05C..XZU404,414,424,434..ARL;S05C..XZU412..5F..(75T,85T)..TD200212-200610
VERTICAL TAIL PIPE,NO.1
main17455-78040iS05C..XZU422..85T;S05C..XZU422..5F..75T..TD;S05C..XZU404,414,424,434..ARL;S05C..XZU412..5F..(75T,85T)..TD200212-200610
VERTICAL TAIL PIPE,NO.2
NO.2
SHORT TAIL PIPE
SHORT TAIL PIPE
main17455-78070iW04D..WU410..65T;W04D..WU410..75T..GEN;N04C,W04D..WU412,42#,XZU413,423,433200610-201106
NO.1
NO.3
main17455-78100iS05C..XZU422..85T;S05C..XZU422..5F..75T..TD;S05C..XZU404,414,424,434..ARL;S05C..XZU412..5F..(75T,85T)..TD200212-200610
VERTICAL TAIL PIPE,NO.3
17567CUSHION, EXHAUST PIPE SUPPORT
17567ACUSHION, EXHAUST PIPE SUPPORT, NO.2
main17567-78010iS05C..XZU414,424..ARL;S05C..XZU412,434..RHD..TD;S05C..XZU414,424..LHD..GEN200110-200610
LONG TAIL PIPE
main17567-78010iS05C..XZU422..85T;S05C..XZU412..5F..TD;S05C..XZU422..5F..75T..TD;S05C..XZU404,414,424,434..RHD200110-200610
SHORT TAIL & VERTICAL TAIL PIPE
main17567-78010iW04D..WU410..65T;W04D..WU410..75T..GEN;N04C,W04D..WU412,42#,XZU413,423,433200610-201106
EXHAUST TAIL PIPE=REAR
17572BRACKET, EXHAUST PIPE NO.1 SUPPORT
NO.1
NO.2
17573BRACKET, EXHAUST PIPE NO.1 SUPPORT, LOWER
main17573-78082iW04D..WU410..65T;W04D..WU410..75T..GEN;N04C,W04D..WU412,42#,XZU413,423,433200610-201106
EXHAUST TAIL PIPE=REAR
VERTICAL TAIL PIPE
LONG TAIL PIPE,NO.1
NO.1
SHORT TAIL PIPE
SHORT TAIL & VERTICAL TAIL PIPE
VERTICAL TAIL PIPE
LONG TAIL PIPE,NO.1
NO.1
SHORT TAIL & VERTICAL TAIL PIPE
LONG TAIL PIPE,NO.2
NO.2
NO.1
NO.2
17573ABRACKET, EXHAUST PIPE SUPPORT, NO.3
17573BBRACKET, EXHAUST PIPE SUPPORT, NO.5
LONG TAIL PIPE
main16721-78010iS05C..XZU422..85T;S05C..XZU412..5F..TD;S05C..XZU422..5F..75T..TD;S05C..XZU404,414,424,434..RHD200110-200610
SHORT TAIL & VERTICAL TAIL PIPE
main16721-78010iW04D..WU410..65T;W04D..WU410..75T..GEN;N04C,W04D..WU412,42#,XZU413,423,433200610-201106
EXHAUST TAIL PIPE=REAR
17578CLAMP, PIPE
main17578-78010iW04D..WU410..65T;W04D..WU410..75T..GEN;N04C,W04D..WU412,42#,XZU413,423,433200304-201106
SHORT TAIL PIPE
NO.1
EXHAUST TAIL PIPE=REAR
main17578-78060iS05C..XZU414,424..ARL;S05C..XZU412,434..RHD..TD;S05C..XZU414,424..LHD..GEN200110-200802
LONG TAIL PIPE
main17578-78060iS05C..XZU422..85T;S05C..XZU422..5F..75T..TD;S05C..XZU404,414,424,434..ARL;S05C..XZU412..5F..(75T,85T)..TD200212-200701
NO.2
17578ECLAMP, PIPE(FOR FRONT EXHAUST PIPE)
4711
9003116076
main90031-16076
9003119100
main90031-19100
9011908B95
main90119-08B95
9046132033
main90461-32033
9164180825
main91641-80825
9164281035
main91642-81035
9418560800
main94185-60800
22 parts on this diagram · 15 diagrams in section