E
EPC Data

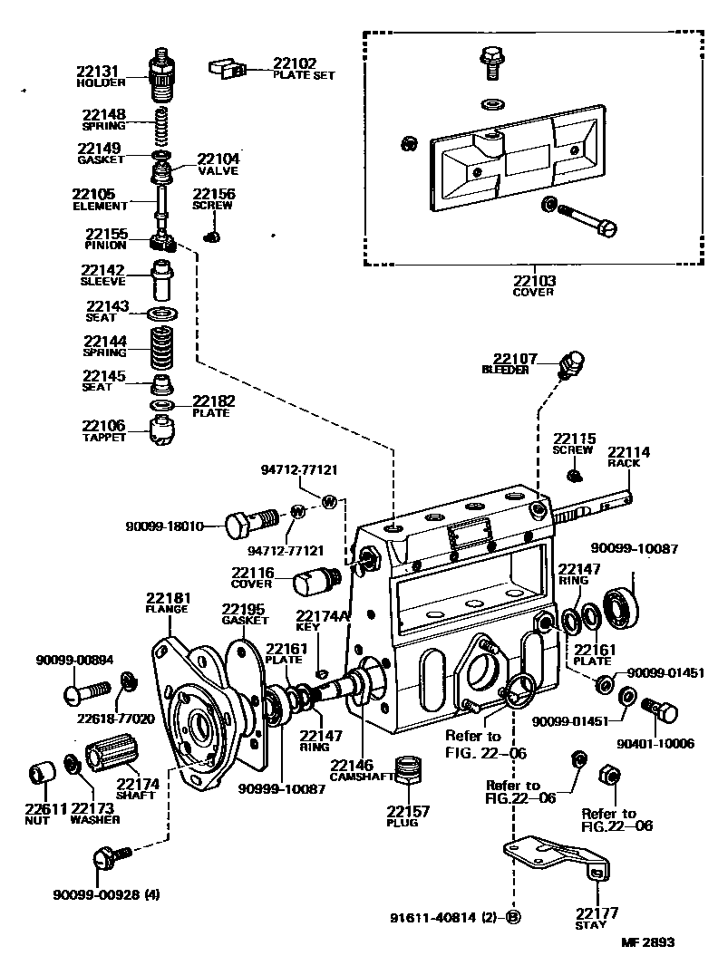
INJECTION PUMP BODY

Parts diagram
2206
22102PLATE SET, VALVE HOLDER LOCK
main22102-58230i198510-198708
W/TACHO METER
main22102-67010i198409-198510
W/TACHO METER
main22102-77021i198409-198708
W/O TACHO METER
22103COVER SUB-ASSY, INJECTION PUMP
main22103-48030i198409-198708
main22103-58230i198409-198708
22104VALVE SUB-ASSY, INJECTION PUMP DELIVERY
main22104-58230i198409-198708
main22104-58340i198510-198708
main22104-77020i198409-198708
22105ELEMENT SUB-ASSY, INJECTION PUMP
main22105-56040i198409-198708
main22105-56230i198501-198708
main22105-58230i198409-198708
22106TAPPET SUB-ASSY, INJECTION PUMP
main22106-46010i198409-198708
22107BLEEDER SUB-ASSY, AIR
main22150-67010i198409-198708
22114RACK, CONTROL
main22114-36010i198409-198708
main22114-48030i198409-198708
22115SCREW, RACK GUIDE
main22115-77020i198409-198708
22116COVER, CONTROL RACK
main22116-46010i198409-198708
main22116-56230i198501-198708
main22116-78030i198409-198501
22131HOLDER, DELIVERY VALVE
main22131-77020i198409-198708
main22131-78030i198409-198708
22142SLEEVE, PLUNGER CONTROL
main22142-58230i198411-198708
main22142-67010i198409-198411
main22142-77020i198409-198708
22143SEAT, SPRING UPPER
main22143-77020i198409-198708
22144SPRING, PUMP PLUNGER
main22144-46010i198409-198708
22145SEAT, SPRING, LOWER
main22145-46010i198409-198708
main22145-78030i198409-198708
22146CAMSHAFT, INJECTION PUMP
main22146-56010i198409-198708
main22146-58230i198409-198708
22147RING, CAMSHAFT ADJUST
main22147-77020i198409-198708
NO.1
main22147-78030i198409-198708
NO.2
22148SPRING, DELIVERY VALVE
main22148-46010i198409-198708
main22148-78030i198409-198708
22149GASKET, DELIVERY VALVE
main22149-76010i198409-198708
main22149-78030i198409-198708
22155PINION, PLUNGER CONTROL
main22155-76010i198409-198708
22156SCREW, PLUNGER CONTROL PINION CLAMP
main22156-76010i198409-198708
22157PLUG, INJECTION PUMP FELT PLATE
main22157-48023i198409-198708
22161PLATE, CAMSHAFT SHIM
main22161-76010i198409-198708
T=0.10,NO.1,T=0.10
main22161-76010i198409-198708
T=0.10,T=0.10
main22162-76010i198409-198708
T=0.12,NO.1,T=0.12
main22162-76010i198409-198708
T=0.12,T=0.12
main22163-76010i198409-198708
T=0.14,NO.1,T=0.14
main22163-76010i198409-198708
T=0.14,T=0.14
main22164-76010i198409-198708
T=0.16,NO.1,T=0.16
main22164-76010i198409-198708
T=0.16,T=0.16
main22165-76010i198409-198708
T=0.18,NO.1,T=0.18
main22165-76010i198409-198708
T=0.18,T=0.18
main22166-76010i198409-198708
T=0.50,NO.1,T=0.50
main22166-76010i198409-198708
T=0.50,T=0.50
main22166-78032i198409-198708
T=0.10,NO.2,T=0.10
main22166-78033i198409-198708
T=0.15,NO.2,T=0.15
main22166-78034i198409-198708
T=0.30,NO.2,T=0.30
main22166-78035i198409-198708
T=0.50,NO.2,T=0.50
22173WASHER, SPRING
main22173-46010i198409-198708
main90099-01449i198409-198708
22174SHAFT, SPLINE
main22174-47010i198409-198708
main22174-58200i198409-198501
main22174-58201i198501-198708
22174AKEY(FOR SPLINE SHAFT)
main90099-13002i198409-198708
main90099-13023i198409-198708
22177STAY, INJECTION PUMP BODY
main22177-56042i198409-198708
22181FLANGE, INJECTION PUMP
main22181-56040i198409-198708
main22181-58230i198409-198708
22182PLATE, TAPPET ADJUSTING SHIM
main22182-46010i198409-198708
T=0.10,T=0.10
main22183-46010i198409-198708
T=0.20,T=0.20
main22184-46010i198409-198708
T=0.30,T=0.30
main22185-46010i198409-198708
T=0.40,T=0.40
main22186-46010i198409-198708
T=0.50,T=0.50
main22186-48010i198409-198708
T=0.15,T=0.15
main22187-46010i198409-198708
T=0.60,T=0.60
main22188-46010i198409-198708
T=0.70,T=0.70
main22189-46010i198409-198708
T=0.80,T=0.80
main22189-48031i198409-198708
T=0.90,T=0.90
main22189-48032i198409-198708
T=1.00,T=1.00
main22189-48033i198409-198708
T=1.10,T=1.10
main22189-48034i198409-198708
T=1.20,T=1.20
main22189-48035i198409-198708
T=1.30,T=1.30
main22189-48036i198409-198708
T=1.40,T=1.40
22195GASKET, BEARING COVER
main22195-48030i198409-198708
main22195-58230i198409-198708
22611NUT, TIMER ROUND
main22611-46010i198409-198708
main22611-58200i198409-198708
2261877020GASKET, TIMER SCREW
9009900894
9009900928
9009901451
9009910087
9009918010
9040110006
9099910087
9161140814
9471277121

41 parts on this diagram · 2 diagrams in section

INJECTION PUMP BODY — Toyota Parts Diagram with OEM Numbers & Prices | EPC Data