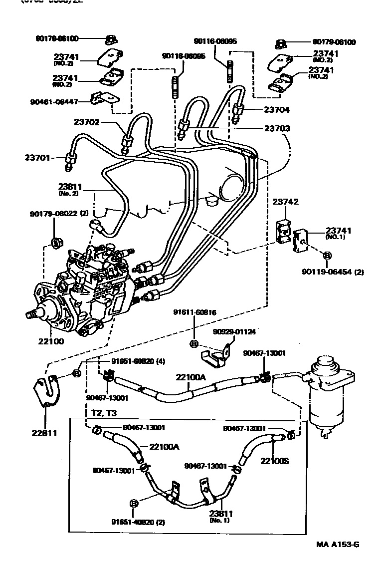
INJECTION PUMP ASSEMBLY

22100PUMP ASSY, INJECTION OR SUPPLY
sub22100-54341
IRELAND SPEC OR W(TACHOMETER)
W(TACHOMETER)
HONG KONG SPEC
SINGAPORE SPEC OR HONG KONG SPEC
SINGAPORE SPEC
W(POWER STEERRING)
W(TACHOMETER)
W(POWER STEERRING) OR W(TACHOMETER)
22100AHOSE OR PIPE, FUEL(FOR INJECTION PUMP TO FUEL FILTER)
L=250
L=480
L=700
22100SHOSE, FUEL(FOR INJECTION PUMP TO FUEL PIPE)
23741CLAMP, INJECTION PIPE, NO.1
NO.1
NO.2
23742CLAMP, INJECTION PIPE, NO.2
23811PIPE, FUEL(FOR FUEL FILTER TO INJECTION PUMP)
NO.1
NO.1
NO.2
NO.2
9011606095
main90116-06095
9011906454
main90119-06454
9017906100
main90179-06100
9017908022
main90179-08022
9046108447
main90461-08447
9046713001
main90467-13001
9092901124
main90929-01124
9161160816
main91611-60816
9165140820
main91651-40820
9165160820
main91651-60820
21 parts on this diagram · 2 diagrams in section