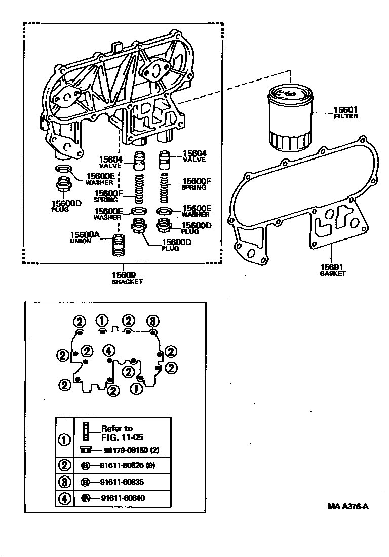
OIL FILTER

1105
15600AUNION(FOR OIL FILTER)
15600DPLUG(FOR OIL FILTER)
IRELAND SPEC,NO.1
15600FSPRING, COMPRESSION(FOR OIL FILTER)
15604VALVE SUB-ASSY, OIL SAFETY
15609BRACKET SUB-ASSY, OIL FILTER
IRELAND SPEC
IRELAND SPEC
9017908150
main90179-08150
9161160825
main91611-60825
9161160835
main91611-60835
9161160840
main91611-60840
13 parts on this diagram · 3 diagrams in section