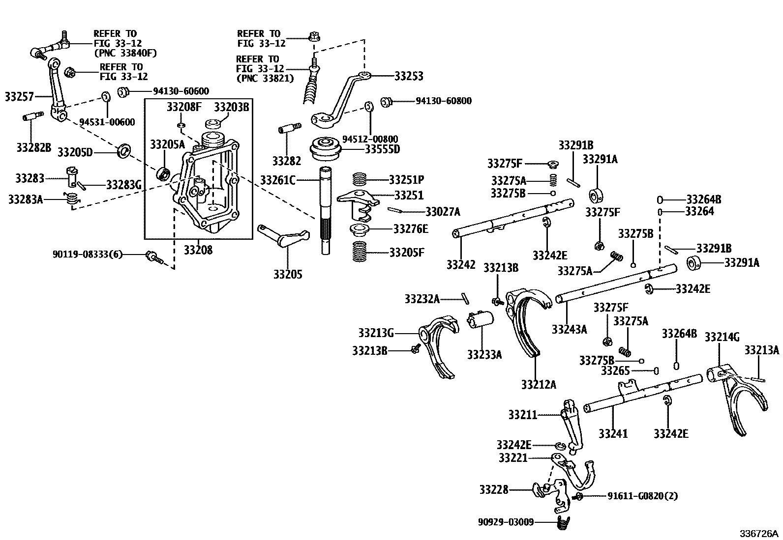
GEAR SHIFT FORK & LEVER SHAFT (MTM)

33027APIN, SLOTTED SPRING(FOR SHIFT LEVER SHAFT SET)
3312
33203BSEAL, OIL(FOR SHIFT LEVER SHAFT)
33205SHAFT SUB-ASSY, SELECT LEVER
33205ASEAL, OIL(FOR SHIFT LEVER NO.2 SHAFT)
33205DWASHER(FOR OUTER LEVER OIL SETTING)
33205FSPRING, COMPRESSION(FOR SELECT RETURN)
33208HOUSING SUB-ASSY, SHIFT LEVER SHAFT
33208FPLUG, TIGHT(FOR SHIFT LEVER SHAFT HOUSING)
33211FORK, REVERSE SHIFT
33212AFORK, GEAR SHIFT, NO.1
33213APIN, SLOTTED SPRING(FOR SHIFT FORK SET)
33213BBOLT(FOR SHIFT FORK SET)
33213GFORK, GEAR SHIFT, NO.2
33214GFORK, GEAR SHIFT, NO.3
33221ARM, REVERSE SHIFT
33228BRACKET, REVERSE SHIFT ARM
33232APIN, SLOTTED SPRING (FOR SHIFT HEAD SET)
33233AHEAD, GEAR SHIFT, NO.2
33241SHAFT, REVERSE SHIFT FORK
33242SHAFT, GEAR SHIFT FORK, NO.1
33242ERING, SHAFT SNAP (FOR SHIFT FORK SHAFT)
33243ASHAFT, GEAR SHIFT FORK, NO.2
33251LEVER, SHIFT & SELECT
33251PSPRING (FOR SHIFT & SELECT LEVER)
33253LEVER, SHIFT OUTER, NO.1
33257LEVER, SELECT OUTER
33261CSHAFT, SHIFT & SELECT LEVER
33264PIN, OR BALL, SHIFT INTERLOCK, NO.1
L=11.5,OD=4.8
33264BROLLER, NO.1 (FOR SHIFT INTERLOCK )
L=13.6,OD=9.5
33265PIN, SHIFT INTERLOCK, NO.2
L=13.7,OD=6
33275ASPRING, COMPRESSION (FOR SHIFT DETENT BALL LOW SIDE)
L=33.8
33275BBALL, SHAFT DETENT
33275FPLUG (FOR SHIFT DETENT BALL)
33276ESEAT, SELECT SPRING, NO.1
33282PIN, LEVER LOCK, NO.2
33282BPIN, LEVER LOCK (FOR SELECT OUTER LEVER)
33283PIN, REVERSE RESTRICT, NO.1
33283ASPRING, COMPRESSION (FOR REVERSE RESTRICT PIN)
33283GPIN, SLOTTED SPRING (FOR REVERSE RESTRICT PIN)
33291ASTOPPER, SHIFT FORK SHAFT
33291BPIN, SLOTTED SPRING (FOR SHIFT FORK SHAFT STOPPER)
33555DBOOT, SHIFT LEVER
9011908333
main90119-08333
9092903009
main90929-03009
91611G0820
main91611-G0820
9413060600
main94130-60600
9413060800
main94130-60800
9451200800
main94512-00800
9453100600
main94531-00600
50 parts on this diagram · 1 diagram in section