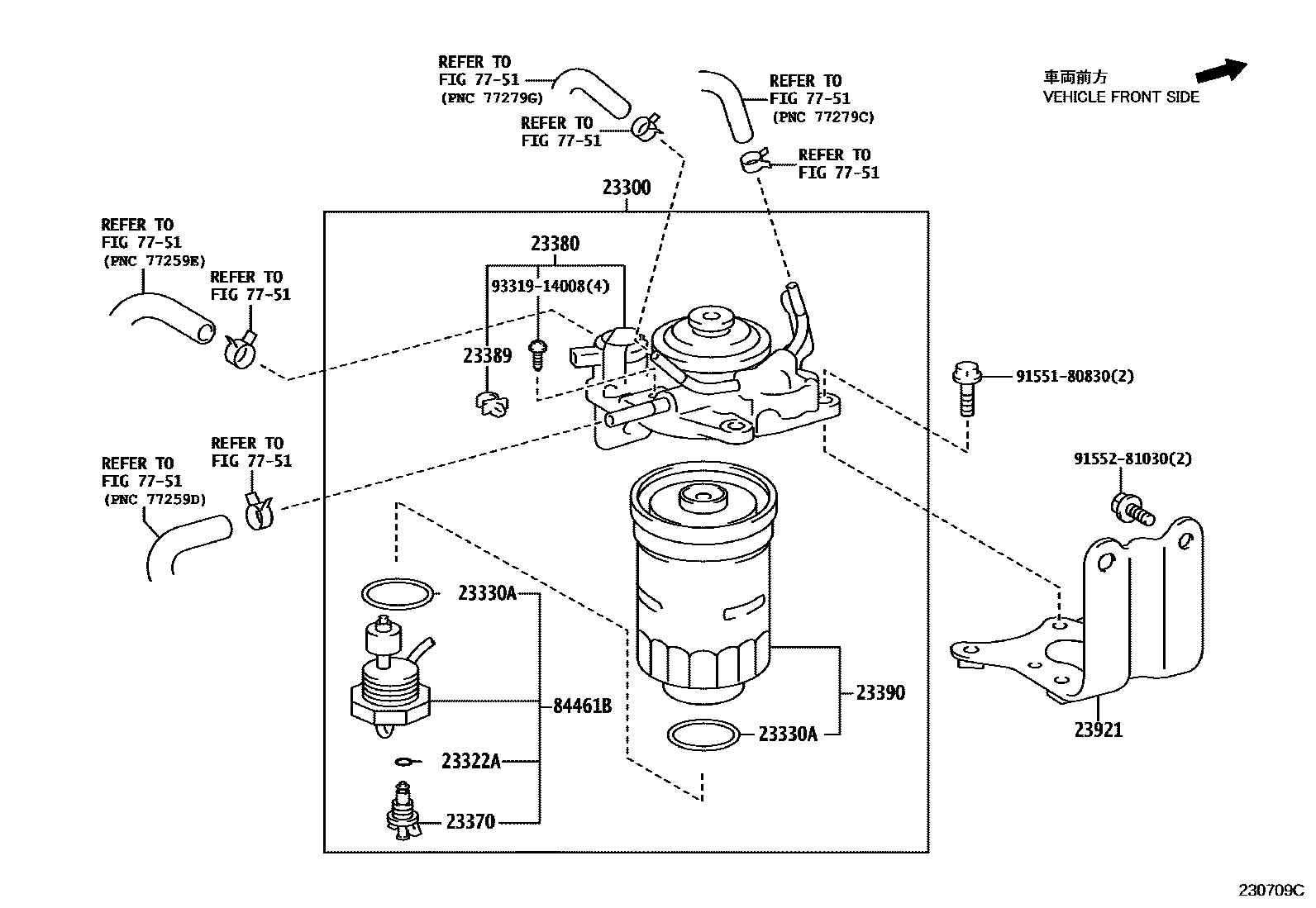
FUEL FILTER

23300FILTER ASSY, FUEL
23322ARING, O(FOR DRAIN PLUG)
23330AGASKET
23370COCK ASSY, FUEL FILTER DRAIN
23380CAP ASSY, FUEL FILTER
23389CLAMP, FUEL FILTER
23390ELEMENT ASSY, FUEL FILTER
23921SUPPORT, FUEL FILTER
7751
84461BSWITCH, LEVEL WARNING
9155180830
main91551-80830
9155281030
main91552-81030
9331914008
main93319-14008
13 parts on this diagram · 3 diagrams in section