E
EPC Data

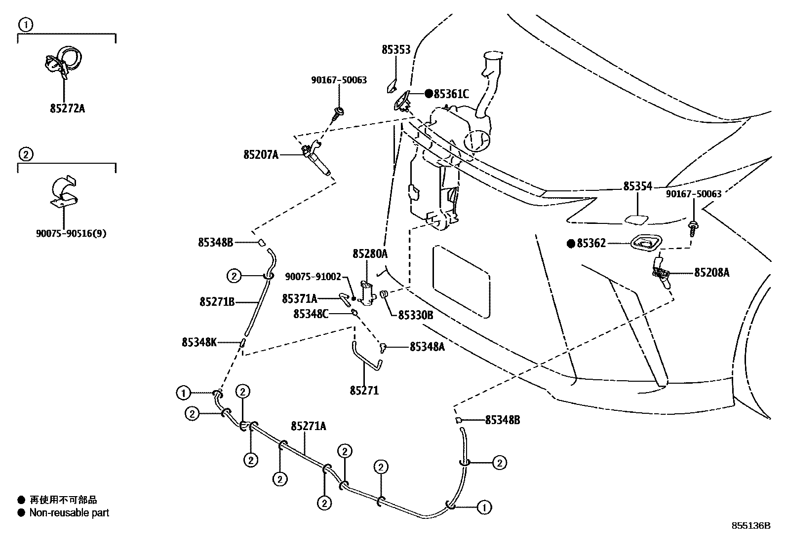
HEADLAMP CLEANER

Parts diagram
85207AACTUATOR SUB-ASSY, HEADLAMP WASHER, RH
main85207-V2010i202306
85208AACTUATOR SUB-ASSY, HEADLAMP WASHER, LH
main85208-V2010i202306
85271HOSE, HEADLAMP CLEANER, NO.1
main90075-15099i202306
L=300
85271AHOSE, HEADLAMP CLEANER, NO.2
main90075-15077i202306
L=1950
85271BHOSE, HEADLAMP CLEANER, NO.3
main90075-15146i202306
L=380
85272ACLAMP, HEADLAMP CLEANER, NO.1
main82711-16830i202306
85280AMOTOR AND PUMP ASSY, HEADLAMP CLEANER
main85280-33030i202306
85330BBUSH, HEADLAMP CLEANER WASHER JAR
main90099-32089i202306
85348AJOINT, HEADLAMP CLEANER HOSE, NO.1
main90075-17009i202306
85348BJOINT, HEADLAMP CLEANER HOSE, NO.2
main90075-17011i202306
85348CJOINT, HEADLAMP CLEANER HOSE, NO.3
main90075-17012i202306
85348KJOINT, HEADLAMP CLEANER ELBOW, NO.1
main90075-17020i202306
85353COVER, HEADLAMP WASHER, RH
main85353-V2010-A0i202306
SONIC QUARTZ,085
main85353-V2010-B0i202306
SONIC TITANIUM,1J7
main85353-V2010-C0i202306
GRAPHITE BLACK GF.,223
main85353-V2010-D0i202306
SONIC AGATE,3U3
85354COVER, HEADLAMP WASHER, LH
main85354-V2010-A0i202306
SONIC QUARTZ,085
main85354-V2010-B0i202306
SONIC TITANIUM,1J7
main85354-V2010-C0i202306
GRAPHITE BLACK GF.,223
main85354-V2010-D0i202306
SONIC AGATE,3U3
85361CBRACKET, WASHER
main85361-V2010i202306
85362BRACKET, WASHER, NO.2
main85362-V2010i202306
85371AHOSE, HEADLAMP CLEANER(FROM MOTOR TO JOINT)
main90075-15054i202306
L=120
9007590516
9007591002
9016750063

20 parts on this diagram · 1 diagram in section

HEADLAMP CLEANER — Toyota Parts Diagram with OEM Numbers & Prices | EPC Data