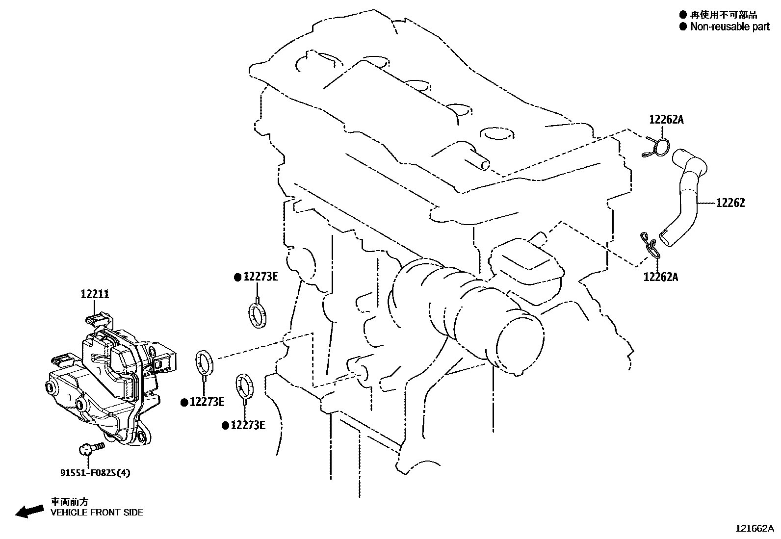
VENTILATION HOSE

12211CASE, VENTILATION, NO.1
INDIA SPEC
UKRAINE SPEC
12262HOSE, VENTILATION, NO.2
12262ACLIP(FOR VENTILATION HOSE NO.2)
12273EGASKET(FOR VENTILATION CASE)
UKRAINE SPEC
INDIA SPEC
91551F0825
main91551-F0825
5 parts on this diagram · 2 diagrams in section