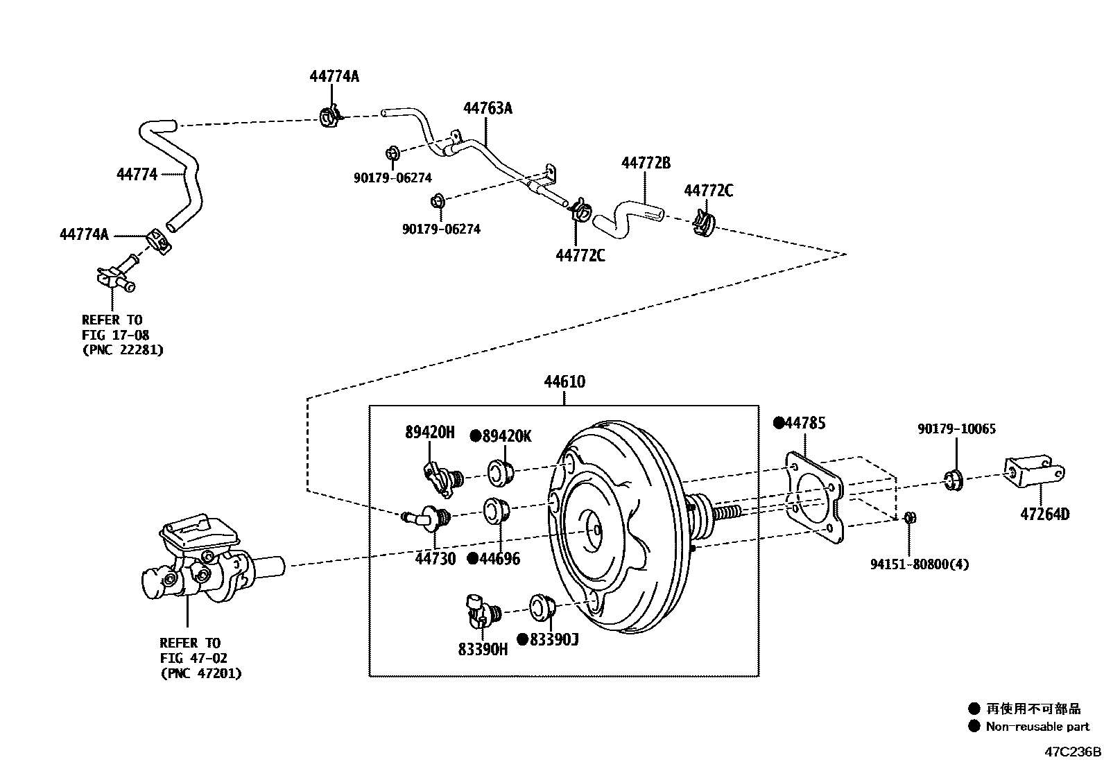
BRAKE BOOSTER & VACUUM TUBE

1708
44610BOOSTER ASSY, BRAKE
44696GROMMET, CHECK VALVE
44730VALVE ASSY, VACUUM CHECK(FOR BRAKE)
44772BHOSE, CHECK VALVE TO BRAKE BOOSTER
44772CCLIP(FOR CHECK VALVE TO BRAKE BOOSTER HOSE)
44774HOSE, UNION TO CONNECTOR TUBE
44774ACLIP(FOR UNION TO CONNECTOR TUBE HOSE)
44785GASKET, BRAKE BOOSTER
4702
47264DCLEVIS, BRAKE MASTER CYLINDER PUSH ROD
83390HSWITCH ASSY, VACUUM WARNING
83390JGROMMET, VACUUM WARNING SWITCH
89420HSENSOR ASSY, VACUUM
89420KGROMMET, VACUUM SENSOR
9017906274
main90179-06274
9017910065
main90179-10065
9415180800
main94151-80800
19 parts on this diagram · 3 diagrams in section