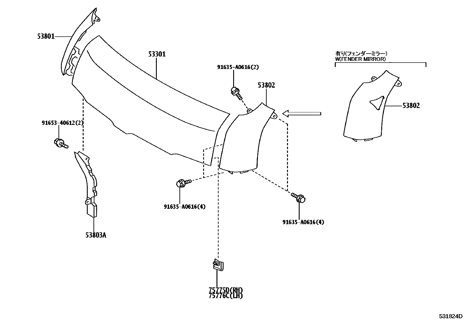
HOOD & FRONT FENDER

53301HOOD SUB-ASSY
main53301-26090iKDH212..LHD;TRH223..4FC..GL;TRH213..LHD..GEN;TRH213,221..GCC,TH;KDH223..4FC..(GEN,TH);KDH222..16S..(GEN,SA);TRH223..LHD..STD..GEN;TRH223..STD..(ARL,SA,TH);TRH223..5201312-202506
53801FENDER SUB-ASSY, FRONT RH
main53801-26011iLH200..5D;TRH203..4FC;KDH200..LHD..4D;TRH213..RHD..5F;KDH200,212..RHD..(03S,10S)..(GEN,SA)201312-202507
53802FENDER SUB-ASSY, FRONT LH
53803ABRACKET SUB-ASSY, FRONT SIDE PANEL, RH
main53803-26011iKDH222..5F..GL;KDH220..03S..SA;TRH223..RHD..GEN;TRH221..03S..(GEN,SA);KDH222,TRH223..STD..GCC;TRH223..5F..GL..(GEN,SA)201312-202507
75775DCOVER, HOOD FRONT MOULDING END, RH
75776CCOVER, HOOD FRONT MOULDING END, LH
main75776-26010iLH200..5D;TRH203..4FC;KDH200..LHD..4D;TRH213..RHD..5F;KDH200,212..RHD..(03S,10S)..(GEN,SA)201312-202507
91635A0616
main91635-A0616
9165340612
main91653-40612
8 parts on this diagram · 1 diagram in section