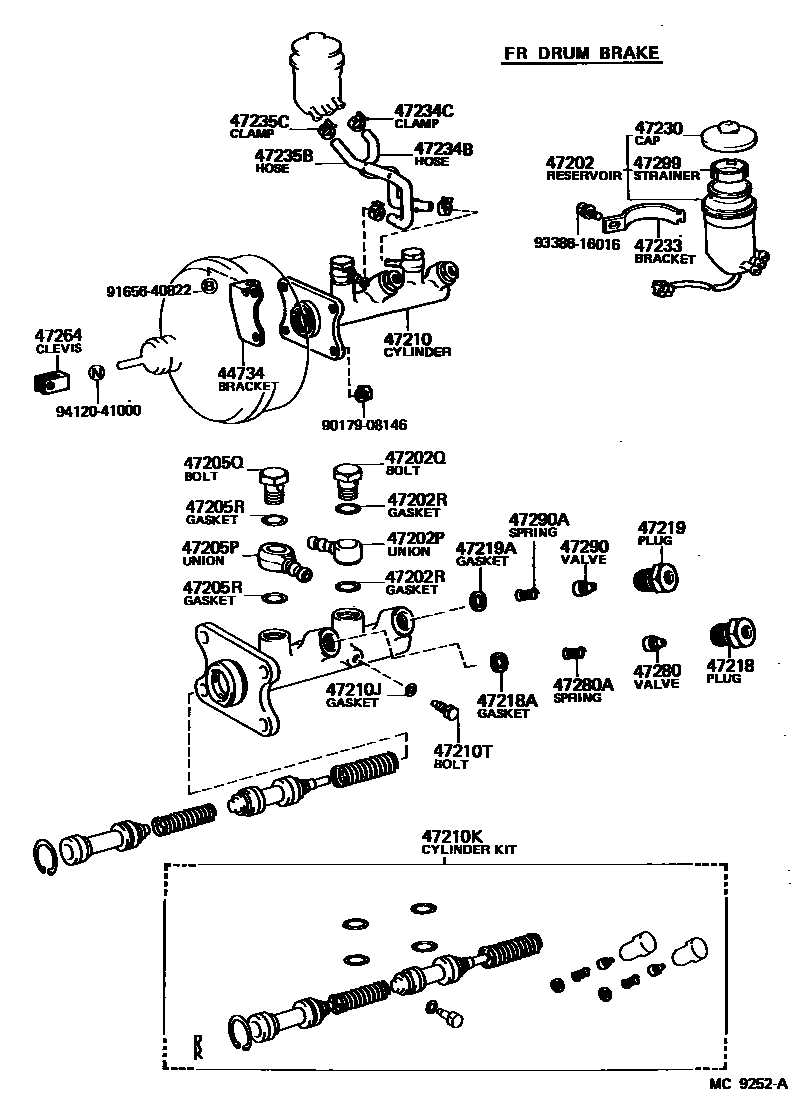
BRAKE MASTER CYLINDER

44734BRACKET, BOOSTER SUPPORT OR ROD SUPPORT
47202RESERVOIR SUB-ASSY, BRAKE MASTER CYLINDER
SWEDEN SPEC
47202PUNION, RESERVOIR(FOR BRAKE MASTER CYLINDER SIDE)
47202QBOLT, RESERVOIR UNION(FOR BRAKE MASTER CYLINDER SIDE)
47202RGASKET, RESERVOIR UNION(FOR BRAKE MASTER CYLINDER SIDE)
47205PUNION, RESERVOIR(FOR BRAKE MASTER CYLINDER REAR SIDE)
47205QBOLT, RSVR UNION, NO.2(FOR BRAKE MASTER CYLINDER RR SIDE)
47205RGASKET, RESERVOIR UNION(FOR BRAKE MASTER CYLINDER REAR SIDE)
47210CYLINDER ASSY, MASTER, W/O BOOSTER
FR DISC BRAKE
SWEDEN SPEC
FR DRUM BRAKE
47210JGASKET(FOR MASTER CYLINDER)
47210KCYLINDER KIT, BRAKE MASTER
FR DISC BRAKE
FR DRUM BRAKE
47210TBOLT(FOR BRAKE MASTER CYLINDER)
47218PLUG, MASTER CYLINDER FLUID OUTLET
47218AGASKET(FOR FLUID OUTLET PLUG)
47219PLUG, MASTER CYLINDER FLUID OUTLET(FOR REAR SIDE)
FR DRUM BRAKE
47219AGASKET(FOR FLUID OUTLET PLUG REAR SIDE)
FR DISC BRAKE
FR DRUM BRAKE
47230CAP ASSY, BRAKE MASTER CYLINDER RESERVOIR FILLER
47233BRACKET, RESERVOIR
47234BTUBE, RESERVOIR, NO.1
47234CCLIP(FOR RESERVOIR TUBE NO.1)
47235BTUBE, BRAKE MASTER CYRINDER RESERVOIR, NO.2
47235CCLIP(FOR BRAKE MASTER CYLINDER RESERVOIR TUBE NO.2)
47264CLEVIS, MASTER CYLINDER PUSH ROD
47280VALVE ASSY, BRAKE MASTER CYLINDER OUTLET CHECK
47280ASPRING, COMPRESSION
47290VALVE ASSY, MASTER CYLINDER OUTLET(FOR REAR SIDE)
FR DISC BRAKE
FR DRUM BRAKE
47290ASPRING, COMPRESSION(FOR FLUID OUTLET REAR SIDE)
FR DRUM BRAKE
47299STRAINER, BRAKE MASTER CYLINDER RESERVOIR
9017908146
main90179-08146
9165640822
main91656-40822
9338616016
main93386-16016
9412041000
main94120-41000
32 parts on this diagram · 2 diagrams in section