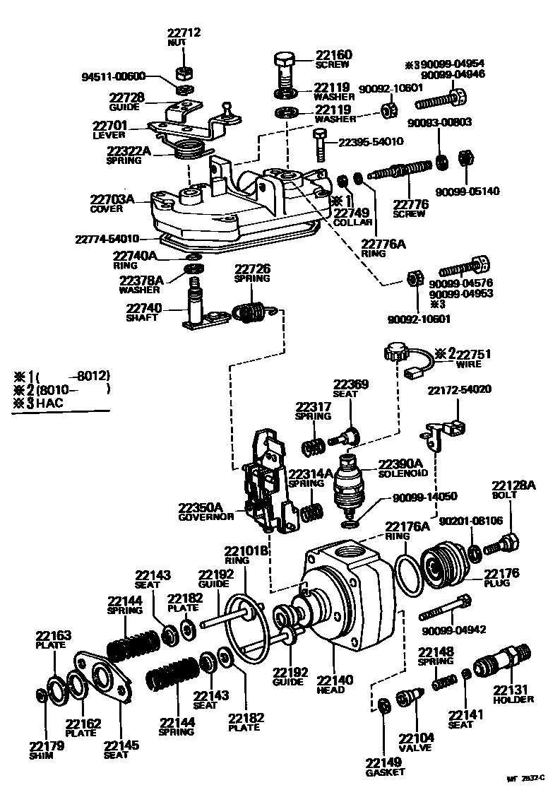
INJECTION PUMP BODY

22101HOUSING SUB-ASSY, INJECTION PUMP
sub22101-64230
22101BRING, O(FOR INJECTION PUMP HOUSING)
22104VALVE SUB-ASSY, INJECTION PUMP DELIVERY
22119WASHER, AIR BLEEDER NIPPLE
sub90201-12109
22128ABOLT, DISTRIBUTIVE HEAD
22131HOLDER, DELIVERY VALVE
22141SEAT, DELIVERY VALVE SPRING
22143SEAT, SPRING UPPER
22145SEAT, SPRING, LOWER
22148SPRING, DELIVERY VALVE
22149GASKET, DELIVERY VALVE
22162PLATE, PLUNGER UPPER
22163PLATE, PLUNGER LOWER
22176PLUG, DISTRIBUTIVE HEAD
22176ARING, O(FOR DISTRIBUTIVE HEAD PLUG)
sub22193-54772
22179SHIM, PLUNGER ADJUSTING
T=1.9,T=1.9
T=2.0,T=2.0
T=2.1,T=2.1
T=2.2,T=2.2
T=2.3,T=2.3
T=2.4,T=2.4
T=2.5,T=2.5
T=2.6,T=2.6
T=2.7,T=2.7
T=2.8,T=2.8
T=2.9,T=2.9
22182PLATE, TAPPET ADJUSTING SHIM
T=0.5,T=0.5
T=0.8,T=0.8
T=1.0,T=1.0
T=1.2,T=1.2
T=1.5,T=1.5
T=1.8,T=1.8
T=2.0,T=2.0
22192GUIDE SUB-ASSY, PLUNGER SPRING
22314ASPRING, LEVER SUPPORT
22317SPRING, GOVERNOR DOMPER
K=0.2,L=6.5
22322ASPRING, RETURN
22350AGOVERNOR ASSY, TORQUE CONTROL
22369SEAT, GOVERNOR SPRING
22378WASHER, DRAIN SCREW
22378AWASHER, GOVERNOR THRUST
sub22378-64010
22390ASOLENOID ASSY, FUEL CUT
sub22019-6A510
22701LEVER SUB-ASSY, ADJUSTING
NO MARKING
MARK"0"
22703ACOVER SUB-ASSY, GOVERNOR
HAC
HAC
22712NUT, ROCK
22726SPRING, SPEED CONTROL
22728GUIDE, RETURN SPRING
22740SHAFT SUB-ASSY, GOVERNOR ADJUSTING
22740ARING, O(FOR GOVERNOR ADJUSTING SHAFT)
sub22193-54770
22749COLLAR, SMOKE SET ADJUSTING
T=2.0
T=2.2
T=2.4
T=2.6
T=2.8
T=3.0
T=3.2
T=3.4
T=3.6
T=3.8
22751WIRE SUB-ASSY, FUEL CUT SOLENOID
sub22751-54150
22776ARING, O(FOR SMOKE SET SCREW)
sub22193-54771
2217254020CLIP, CONNECTOR SUPPORT, SOLENOID
main22172-54020
2239554010BOLT, SOCKET(FOR INJECTION PUMP GOVERNOR COVER)
main22395-54010
2277454010GASKET, GOVERNOR COVER
main22774-54010
9009210601
main90092-10601
9009300803
main90093-00803
9009904576
main90099-04576
9009904942
main90099-04942
9009904946
main90099-04946
9009904953
main90099-04953
9009904954
main90099-04954
9009905140
main90099-05140
9009914050
main90099-14050
9020108106
main90201-08106
9451100600
main94511-00600
54 parts on this diagram · 3 diagrams in section