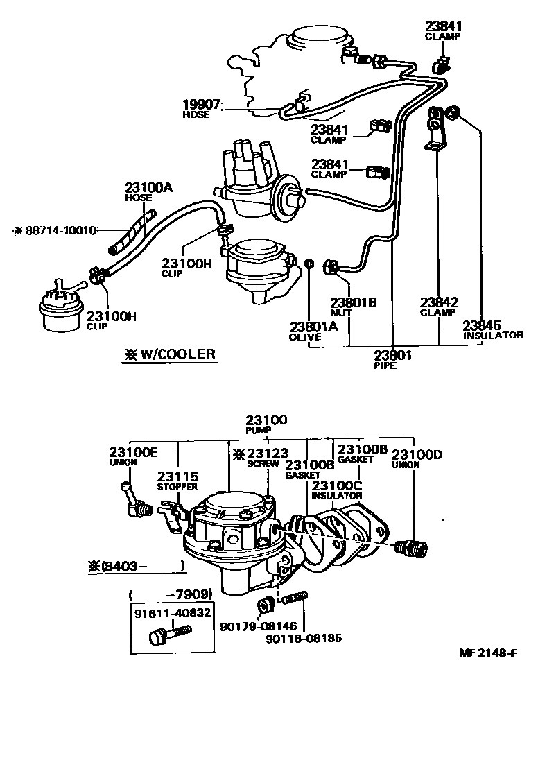
FUEL PUMP & PIPE

19907HOSE, VACUUM, NO.1
23100DUNION, NIPPLE(FOR FUEL OUTLET)
23100EUNION, NIPPLE(FOR FUEL INLET)
23100HCLIP(FOR FUEL HOSE)
sub96132-51100
23115STOPPER, UNION NIPPLE
23123SCREW, COVER SET, NO.1
L=14
L=16
23801PIPE OR HOSE SUB-ASSY, CARBURETOR FUEL, NO.1
23801AOLIVE(FOR FUEL PIPE)
23801BNUT, UNION(FOR FUEL PIPE)
23841CLAMP, FUEL PIPE(HOSE), NO.1
23842CLAMP, FUEL PIPE(HOSE), NO.2
23845INSULATOR, FUEL PIPE
8871410010HOSE, COOLER REFRIGERANT LIQUID, NO.1
main88714-10010
9011608185
main90116-08185
9017908146
main90179-08146
9161140832
main91611-40832
20 parts on this diagram · 2 diagrams in section