E
EPC Data
Pricing
Sign In
Home
›
GR
›
6723B0
›
REAR BODY MOUNTING
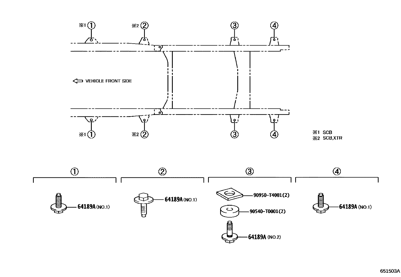
REAR BODY MOUNTING
64189A
BOLT, REAR BODY MOUNTING
main
64189-0K010
×6
i
GUN125,126,13#..XTR..SA
202108-202301
NO.1
main
64189-0K020
×2
i
GUN122,125,126,13#,LAN125,TGN120,121,136..(KEN,SA)..CBU
202108-202303
NO.2
90540T0001
main
90540-T0001
90950T4001
main
90950-T4001
3 parts on this diagram · 1 diagram in section
REAR BODY MOUNTING — Toyota Parts Diagram with OEM Numbers & Prices | EPC Data