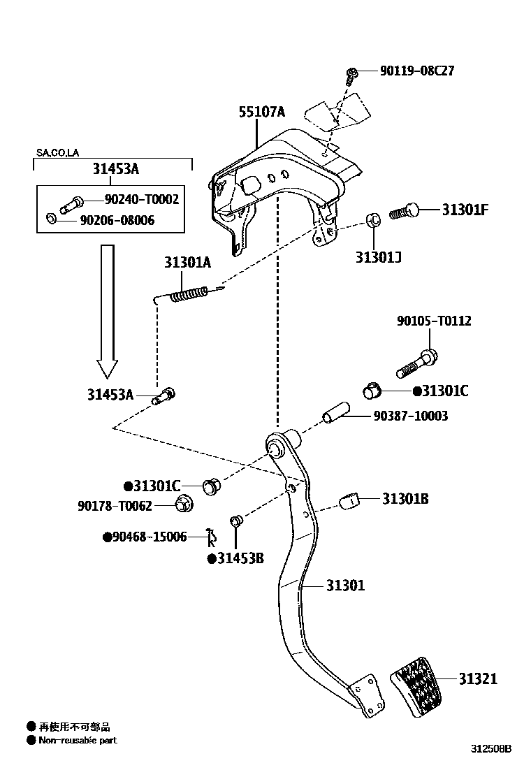
CLUTCH PEDAL & FLEXIBLE HOSE

31301PEDAL SUB-ASSY, CLUTCH
main31301-0K160iKUN15..HDCR..TH;GGN15,25,KUN16,2#,3#..RHD..(DCB,SCB,SMT,XTR)..5F..(ARL,GEN,IDN,MA,PKN,TH)201107-201609
main31301-0K180iKUN26..LHD..(DCB,THDCB)..5F..(GEN,PHL);KUN15,25,35..LHD..5F..HDCR..(GCC,GEN,PHL)201107-201504
31301ASPRING(FOR CLUTCH PEDAL)
main90507-T0001iKUN10,15,LAN15,25,35,TGN1#,26,36..5F..(CNG,DCR,DEFI,HTWC,HTWCF)..(ANCOM,ARL,CO,GCC,GEN,IDN,LA,PHL,SA,TH)201107-201609
main90905-06079iKUN26..SADCB..5F;KUN26,36..5F..(CO,LA,SA);KUN15,25,35..5F..HDCR..(CO,LA,SA)201108-201512
NO.2
main90949-T3001iKUN26..SADCB..5F;KUN26,36..5F..(CO,LA,SA);KUN15,25,35..5F..HDCR..(CO,LA,SA)201108-201512
NO.1
main90949-T3001iKUN15..HDCR..(GEN,TH);GGN15,25,KUN16,2#,3#..(DCB,SCB,SMT,THDCB,THSCB,XTR)..5F..(ARL,GCC,GEN,IDN,MA,PHL,PKN,TH)201107-201609
31301BCUSHION, NO.1(FOR CLUTCH PEDAL)
NO.1
NO.2
NO.2
31301CBUSH(FOR CLUTCH PEDAL)
main90386-13015iKUN15..LHD..DCR..GEN;KUN15..DCR..(GCC,PHL,SA);KUN15,25,TGN10..5F..(HDCR,HTWC)..(CO,GCC,GEN,IDN,LA,MA,SA,TH);GGN15,25,KUN10,16,26,3#,LAN15,25,35,TGN11,15,16,26,36..5201107-201609
31301FBOLT(FOR CLUTCH PEDAL STOPPER)
(J)
(L)
31301JNUT(FOR CLUTCH PEDAL STOPPER)
31321PAD, CLUTCH PEDAL
main31321-52010iGGN15,25,KUN1#,2#,3#,LAN15,25,35,TGN1#,26,36..5F..(ARL,GCC,GEN,IDN,MA,PHL,PKN,SA,TH)201107-201609
31453APIN, W/HOLE(FOR CLUTCH MASTER CYLINDER PUSH ROD CLEVIS)
L=29.4
31453BBUSH(FOR CLUTCH MASTER CYLINDER PUSH ROD CLEVIS)
main90386-08002iGGN15,25,KUN1#,2#,3#,LAN15,25,35,TGN1#,26,36..5F..(ANCOM,ARL,CO,GCC,GEN,IDN,LA,MA,PHL,SA,TH)201107-201609
55107ASUPPORT SUB-ASSY, CLUTCH PEDAL
main55107-0K060iKUN15..HDCR..(GEN,TH);GGN15,25,KUN16,2#,3#..(DCB,SCB,SMT,THDCB,THSCB,XTR)..5F..(ARL,GCC,GEN,IDN,MA,PHL,PKN,TH)201107-201609
main55107-0K070iKUN26..SADCB..5F;KUN26,36..5F..(CO,LA,SA);KUN15,25,35..5F..HDCR..(CO,LA,SA)201108-201512
90105T0112
main90105-T0112
9011908C27
main90119-08C27
90178T0062
main90178-T0062
9020608006
main90206-08006
90240T0002
main90240-T0002
9038710003
main90387-10003
9046815006
main90468-15006
17 parts on this diagram · 12 diagrams in section