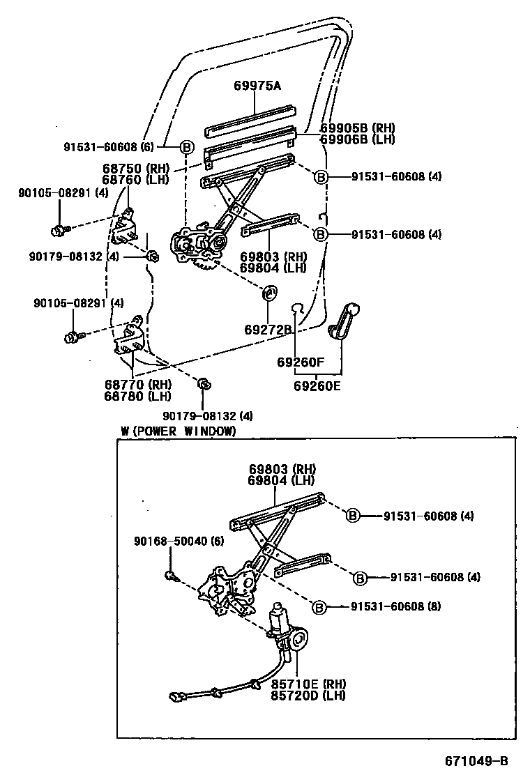
REAR DOOR WINDOW REGULATOR & HINGE

68750HINGE ASSY, REAR DOOR, UPPER RH
68760HINGE ASSY, REAR DOOR, UPPER LH
main68760-32060iKZN165..DCB..ARL;LN167..(DCB,THDCB)..DLX..ARL;LN147,RZN149,VZN167..(DCB,THDCB)..ARL200108-200502
68770HINGE ASSY, REAR DOOR, LOWER RH
main68770-35030iKZN165..THDCB..SR;LN145..LHD..DLX..TH;RZN169..(DCB,THDCB)..DLX..ARL;LN167,RZN149,169..(DCB,THDCB)..(CBR,DSL);LN167,RZN169..DCB..SR..(DEFI,EFI)..(SA,TH);LN167,RZN149199708
68780HINGE ASSY, REAR DOOR, LOWER LH
69260EHANDLE ASSY, REAR DOOR WINDOW REGULATOR
MD.MOON MIST,TRIM1#
main69260-89104-B1×2iKZN165..SA;KZN165..DCB..DLX;KZN190,LN145,146,147,16#,19#,RZN147,148,149,16#,193..(DCB,THDCB)..(ARL,GCC,GEN,SA)199708-200009
MD.MOON MIST,TRIM1#
RED,TRIM3#
69260FRING, SHAFT SNAP(FOR REAR DOOR WINDOW REGULATOR HANDLE)
main90520-01274×2iRZN169..SR..SA;RZN149,169..DCB..CBR;RZN169..DCB..DLX..ARL;RZN149..DCB..DLX..EFI..(ARL,GEN);KZN165,LN147,16#,RZN148,168..DCB..DLX;KZN165,190,LN145,146,167,19#,RZN147200009-200203
69272BPLATE, REAR DOOR REGULATOR INSIDE HANDLE
main69268-20020×2iKZN165..SA;KZN165..DCB..DLX;KZN190,LN145,146,147,16#,19#,RZN147,148,149,16#,193..(DCB,THDCB)..(ARL,GCC,GEN,SA)199708-200009
69803REGULATOR SUB-ASSY, REAR DOOR WINDOW, RH
W(POWER WINDOW)
69804REGULATOR SUB-ASSY, REAR DOOR WINDOW, LH
W(POWER WINDOW)
69905BCHANNEL SUB-ASSY, REAR DOOR GLASS, RH
main69901-89113iKZN165..THDCB..SR;LN145..LHD..DLX..TH;RZN169..(DCB,THDCB)..DLX..ARL;LN167,RZN149,169..(DCB,THDCB)..(CBR,DSL);LN167,RZN169..DCB..SR..(DEFI,EFI)..(SA,TH);LN167,RZN149199708
69906BCHANNEL SUB-ASSY, REAR DOOR GLASS, LH
69975AFILLER, REAR DOOR GLASS CHANNEL
85710EMOTOR ASSY, POWER WINDOW REGULATOR, RH
85720DMOTOR ASSY, POWER WINDOW REGULATOR, LH
SPECIAL EDITION(AUSTRALIA)
9010508291
main90105-08291
9016850040
main90168-50040
9017908132
main90179-08132
9153160608
main91531-60608
18 parts on this diagram · 2 diagrams in section