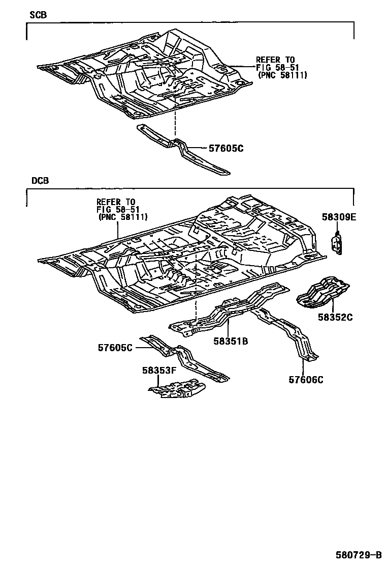
REAR FLOOR PANEL & REAR FLOOR MEMBER

57605CMEMBER SUB-ASSY, REAR FLOOR CROSS
W(BENCH SEAT)
NEW ZEALAND SPEC
main57605-35070iRZN148..IV3;LN145..RHD..SCB..IV3;RZN149..SCB..EFI..GEN;LN167,RZN147,169..THSCB..(DSL,EFI);KZN190,LN157,167,192,RZN142,YN140..SCB..(CBR,DEFI,TDE)..(SA,TH)199808-200503
W(SRS AIR BAG)
W(SEPARATE SEAT)
NEW ZEALAND SPEC & W(SRS AIR BAG)
W(BENCH SEAT)
main57605-35170iRZN169..DCB..SA;LN145..LHD..DLX..TH;RZN169..DCB..DLX..ARL;RZN148,168..DCB..DLX..GEN;LN145,166,RZN149..RHD..DCB..DLX..(ARL,GEN)199708-200506
W(SEPARATE SEAT)
main57605-35170iLN167..DCB..TH;KZN165..THDCB..SR;LN147,167..DCB..DLX..DEFI;LN147,167,RZN149,169..THDCB..DLX;KZN165,190,RZN194..(DCB,SADCB)..(ARL,SA)199902-200504
W(FRONT 6:4 SPRIT SEAT)
NEW ZEALAND SPEC & W(FRONT 6:4 SPRIT SEAT)
W(SPLIT TYPE FRONT SEAT)
NEW ZEALAND SPEC
NEW ZEALAND SPEC
NEW ZEALAND SPEC
sub57605-35260
NEW ZEALAND SPEC & W(SEPARATE SEAT & SRS AIR BAG)
57606CMEMBER SUB-ASSY, REAR FLOOR CROSS, NO.2
W(REAR SEAT BELT)
main57606-35050iRZN169..SR..SA;RZN149,169..DCB..CBR..GEN;RZN147,148,168..DCB..DLX..(GEN,SA);KZN165,190,LN145,16#,19#,RZN19#..DCB..(DSL,EFI,TDE)..(GEN,SA,TH)199708-200506
58309EPLATE SUB-ASSY, REAR FLOOR
main58309-35010iKZN165..THDCB..SR;LN145..LHD..DLX..TH;RZN169..(DCB,THDCB)..DLX..ARL;LN167,RZN149,169..(DCB,THDCB)..(CBR,DSL);LN167,RZN169..DCB..SR..(DEFI,EFI)..(SA,TH);LN167,RZN149199905-200603
sub58309-35010
58351BREINFORCEMENT, REAR FLOOR PANEL, RH
58352CREINFORCEMENT, REAR FLOOR PANEL, NO.2
main58352-35010iKZN165..THDCB..SR;LN145..LHD..DLX..TH;RZN169..(DCB,THDCB)..DLX..ARL;LN167,RZN149,169..(DCB,THDCB)..(CBR,DSL);LN167,RZN169..DCB..SR..(DEFI,EFI)..(SA,TH);LN167,RZN149199708-200603
58353FREINFORCEMENT, REAR FLOOR PANEL, NO.3
5851
7 parts on this diagram · 3 diagrams in section