REAR BODY FLOOR & FENDER

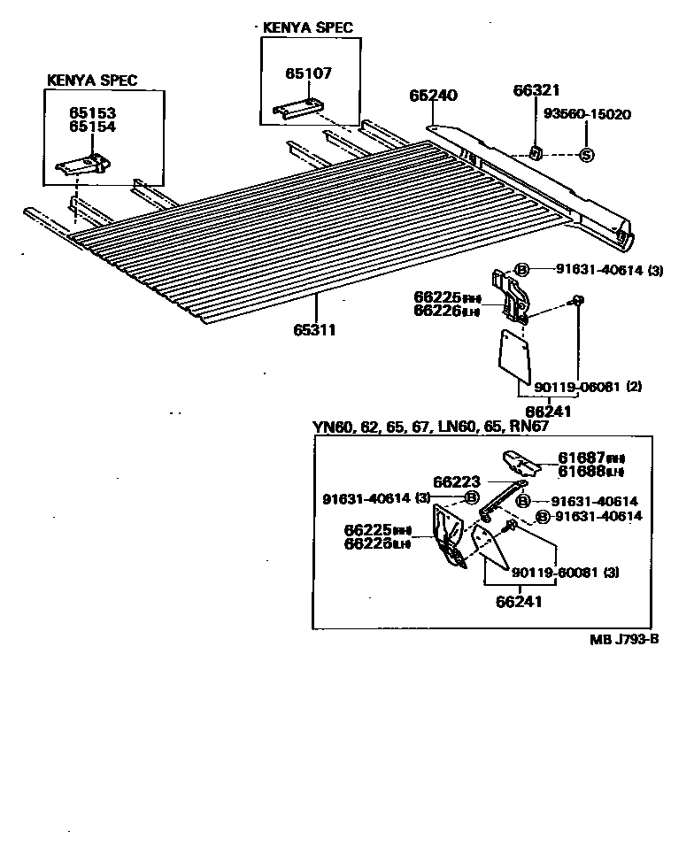
61687BRACKET, MUDGUARD, REAR RH
61688BRACKET, MUDGUARD, REAR LH
65107BRACKET SUB-ASSY, MOUNTING, NO.4
KENYA SPEC
65153BRACKET, MOUNTING, NO.1 RH
KENYA SPEC
65154BRACKET, MOUNTING, NO.1 LH
KENYA SPEC
65240CROSSMEMBER, REAR BODY FLOOR, TAIL
sub65240-89120
sub65240-89124
sub65240-89122
main65240-89122iLN56..LHD..RCB..EUR..CBU;LN51,56,60,65,RN50,55,YN50,52,55,57,58,60,62,65,67..(T1,TW)..(ARL,GEN,ME)..CBU198501-199807
sub65240-89124
65311PANEL, FLOOR, CENTER
66223STAY, REAR FENDER REAR PLATE
66225SUPPORT, REAR MUDGUARD, RH
main76647-89101iYN58..4F;YN58..(SR5,STD)..CBU;LN50,51,55,56,RN50,55,YN50,51,52,55,56,57..(T1,TW)..(4F,4FC,4H,5F)..CBU198308-199807
66226SUPPORT, REAR MUDGUARD, LH
main76648-89101iYN58..4F;YN58..(SR5,STD)..CBU;LN50,51,55,56,RN50,55,YN50,51,52,55,56,57..(T1,TW)..(4F,4FC,4H,5F)..CBU198308-199807
66321BUMPER, GATE RUBBER
W/RR BUMPER
9011906081
main90119-06081
9011960081
main90119-60081
9163140614
main91631-40614
9356015020
main93560-15020
16 parts on this diagram · 3 diagrams in section